elecena.pl

High Performance 12-bit Video Decoder with Noise Shaped Video ADCs

Analog Devices

High Performance 12-bit Video Decoder with Noise Shaped Video ADCs RSS Sample
  • Darmowa próbka
MPN:
ADV7189B
Producent:
ANALOG DEVICES
Dodany do bazy:
Ostatnio widziany:
Zmiana ceny:
-100% (26.01.2025)
Poprzednia cena:
25.36

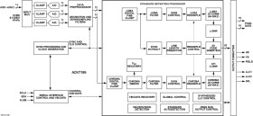
The ADV7189, part of ADI's new generation of integrated video decoders automatically detects and converts a standard analog baseband television signal compatible with worldwide standards NTSC, PAL, or SECAM into 8-bit precision 4:2:2 component video data.

Updates in the B revision include improved performance for noisy or weak signal inputs, better VCR locking capability and various decoder core enhancements. An interrupt request output pin is also added to flag real-time events to the host system.

ADI's ADLLT (Adaptive Digital Line Length Tracking) technology brings advantages to any digital video capture, processing or display application. A proprietary architecture for variable input video quality detection and synchronization, ADLLT enables:

* Stable TV Tuner Signal Capture

* Reliable VCR Signal Capture

* Non-Standard Video Signal Capture

* Automatic Source-Dependent Y/C separation

APPLICATIONS

* DVD recorders

* Video Projectors

* HDD-based PVRs/DVDRs

* LCD TVs

* Set-Top Boxes

* Broadcast & Professional Video Equipment

* PC Video Editing

* Medical & Industrial Video Capture

* Performance upgrade from ADV7189

* High-Accuracy Composite Video Decoding for Professional Applications

Elecena nie prowadzi sprzedaży elementów elektronicznych, ani w niej nie pośredniczy.

Produkt pochodzi z oferty sklepu