10-bit High Quality Single-Chip Digital Video Decoder That Digitizes And Decodes NTSC/PAL/SECAM
Texas Instruments
RSS
Sample
- Darmowa próbka
- MPN:
- TVP5146M2
- Producent:
- TEXAS INSTRUMENTS
- Dodany do bazy:
- Ostatnio widziany:
Sugerowane produkty dla tvp5146m2
The TVP5146M2 device is a high-quality single-chip digital video decoder that digitizes and decodes all popular baseband analog video formats into digital component video. The TVP5146M2 decoder supports the analog-to-digital (A/D) conversion of component RGB and YPbPr signals, as well as the A/D conversion and decoding of NTSC, PAL, and SECAM composite and S-Video into component YCbCr. This decoder includes four 11-bit 30-MSPS A/D converters (ADCs). Preceding each ADC in the device, the corresponding analog channel contains an analog circuit that clamps the input to a reference voltage and applies a programmable gain and offset. A total of ten video input terminals can be configured to a combination of RGB, YPbPr, CVBS, or S-Video video inputs.
Component, composite, or S-Video signals are sampled at 2x the ITU-R BT.601 clock frequency, line locked, and are then decimated to the 1x pixel rate. CVBS decoding utilizes 5-line adaptive comb filtering for both the luma and chroma data paths to reduce both cross-luma and cross-chroma artifacts. A chroma trap filter is also available. On CVBS and S-Video inputs, the user can control video characteristics, such as contrast, brightness, saturation, and hue via an I2C host port interface. Furthermore, luma peaking (sharpness) with programmable gain is included, as well as a patented chroma transient improvement (CTI) circuit.
A built-in color space converter is applied to decoded component RGB data.
Two output formats can be selected: 20-bit 4:2:2 YCbCr or 10-bit 4:2:2 YCbCr.
The TVP5146M2 decoder generates synchronization, blanking, field, active video window, horizontal and vertical syncs, clock, genlock (for downstream video encoder synchronization), host CPU interrupt, and programmable logic I/O signals, in addition to digital video outputs.
The TVP5146M2 decoder includes methods for advanced vertical blanking interval (VBI) data retrieval. The VBI data processor (VDP) slices, parses, and performs error checking on teletext, closed caption (CC), and other VBI data. A built-in FIFO stores up to 11 lines of teletext data and, with proper host port synchronization, full-screen teletext retrieval is possible. The TVP5146M2 decoder can pass through the output formatter 2x the sampled raw luma data for host-based VBI processing.
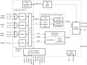
The main blocks of the TVP5146M2 decoder include:
* Robust sync detection for weak and noisy signals as well as VCR trick modes * Y/C separation by 2-D 5-line adaptive comb or chroma trap filter * Fast-switch input for pixel-by-pixel switching between CVBS and YPbPr/RGB component video inputs (SCART support) * Four 11-bit 30-MSPS ADCs with analog preprocessors [clamp and automatic gain control (AGC)] * Luminance processor * Chrominance processor * Component processor * Clock/timing processor and power-down control * Software-controlled power-saving standby mode * Output formatter * I2C host port interface * VBI data processor * Macrovision™ copy protection detection circuit (Type 1, 2, 3, and separate color stripe detection) * 3.3-V tolerant digital I/O ports
Elecena nie prowadzi sprzedaży elementów elektronicznych, ani w niej nie pośredniczy.
Produkt pochodzi z oferty sklepu Texas Instruments