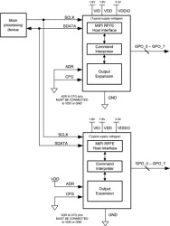
General-Purpose Output Expander with MIPI RFFE Host Interface
Texas Instruments
RSS
Sample
- Darmowa próbka
- MPN:
- LM8335
- Producent:
- TEXAS INSTRUMENTS
- Dodany do bazy:
- Ostatnio widziany:
Sugerowane produkty dla lm8335
The LM8335 General Purpose Output Expander is a dedicated device to provide flexible and general purpose, host programmable output expansion functions. This device communicates with a host processor through a MIPI® RFFE Interface (Mobile Industry Processor Interface RF Front-End).
Eight general purpose outputs (GPO) can be configured by the host controller as drive high/low/high-z. Weak pull-ups (PU) or weak pull-downs (PD) can be enabled.
Upon power-on, the LM8335 default configuration is for all GPO to be set based on the state of the CFG pin.
After startup, any changes to the default configuration must be sent from the host via the MIPI RFFE host interface..
The LM8335 is available in a 16-bump lead-free DSBGA package of size 1.965 mm x 1.965 mm x 0.6 mm (0.5 mm pitch).
Elecena nie prowadzi sprzedaży elementów elektronicznych, ani w niej nie pośredniczy.
Produkt pochodzi z oferty sklepu Texas Instruments