elecena.pl

Military grade C62x fixed point DSP - ceramic package

Texas Instruments

Military grade C62x fixed point DSP - ceramic package RSS Sample
  • Darmowa próbka
MPN:
SMJ320C6203
Producent:
TEXAS INSTRUMENTS
Dodany do bazy:
Ostatnio widziany:

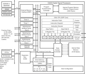
The SMJ320C6203 device is part of the SMJ320C62x fixed-point DSP generation in the SMJ320C6000 DSP platform. The C62x DSP devices are based on the high-performance, advanced VelociTI VLIW architecture developed by TI, making these DSPs an excellent choice for multichannel and multifunction applications.

The SMJ320C62x DSP offers cost-effective solutions to high-performance DSP-programming challenges. The SMJ320C6203 has a performance capability of up to 1600 MIPS at a clock rate of 200 MHz. The C6203 DSP possesses the operational flexibility of high-speed controllers and the numerical capability of array processors. This processor has 32 general-purpose registers of 32-bit word length and eight highly-independent functional units.

The eight functional units provide six ALUs for a high degree of parallelism and two 16-bit multipliers for a 32-bit result. The C6203 can produce two multiply-accumulates (MACs) per cycle for a total of 400 million MACs per second (MMACS). The C6203 DSP also has application-specific hardware logic, on-chip memory, and additional on-chip peripherals. The C6203 device program memory consists of two blocks, with a 256KB block configured as memory-mapped program space, and the other 128KB block user-configurable as cache or memory-mapped program space. Data memory for the C6203 consists of two 256KB blocks of RAM.

The C6203 device has a powerful and diverse set of peripherals. The peripheral set includes three McBSPs, two general-purpose timers, a 32-bit expansion bus that offers ease of interface to synchronous or asynchronous industry-standard host bus protocols, and a glueless 32-bit EMIF capable of interfacing to SDRAM or SBSRAM and asynchronous peripherals.

The C62x devices have a complete set of development tools that includes: a new C compiler, an assembly optimizer to simplify programming and scheduling, and a Windows debugger interface for visibility into source code execution.

Elecena nie prowadzi sprzedaży elementów elektronicznych, ani w niej nie pośredniczy.

Produkt pochodzi z oferty sklepu