elecena.pl

Dual-Channel WLED Driver for Smart Phones

Texas Instruments

Dual-Channel WLED Driver for Smart Phones RSS Sample
  • Darmowa próbka
MPN:
TPS61163
Producent:
TEXAS INSTRUMENTS
Dodany do bazy:
Ostatnio widziany:

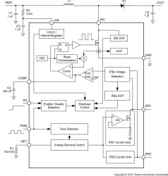
The TPS61163 is a dual-channel WLED driver that provides highly integrated solutions for single-cell Li-ion battery-powered smartphone backlights. The device has a built-in high-efficiency boost regulator with integrated 1.5-A, 40-V power MOSFET and supports a voltage as low as 2.7 V. With two high current-matching-capability current-sink regulators, the device can drive up to 10s2p WLED diodes. The boost output can automatically adjust to the WLED forward voltage and allows very low voltage-headroom control, thus effectively improving the efficiency of the LED strings.

The TPS61163 supports both a PWM dimming interface and a one-wire digital EasyScale™ dimming interface, either which can achieve 9-bit dimming control.

The TPS61163 integrates built-in soft start, overvoltage and overcurrent protection, and thermal shutdown protections.

Elecena nie prowadzi sprzedaży elementów elektronicznych, ani w niej nie pośredniczy.

Produkt pochodzi z oferty sklepu