elecena.pl

Battery fuel gauge for non-rechargeable batteries (lithium primary) and end-of-service monitor

Texas Instruments

Battery fuel gauge for non-rechargeable batteries (lithium primary) and end-of-service monitor RSS Sample
  • Darmowa próbka
MPN:
BQ35100
Producent:
TEXAS INSTRUMENTS
Dodany do bazy:
Ostatnio widziany:

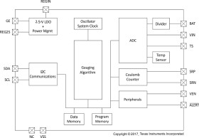
The BQ35100 Battery Fuel Gauge and End-Of-Service Monitor provides highly configurable fuel gauging for non-rechargeable (primary) lithium batteries without requiring a forced discharge of the battery. Built so that optimization is not necessary to achieve accurate gauging, the BQ35100 device uses patented TI gauging algorithms to support the option to seamlessly replace an old battery with a new one.

The BQ35100 device provides accurate results with ultra-low average power consumption where less than 2 µA can be achieved through host control via the GAUGE ENABLE (GE) pin. The device is only required to be powered long enough, at a system-determined update frequency, to gather data and to make calculations to support the selected algorithm. A typical system may need to only be updated once every 8 hours as the gauge is not required to be powered to measure all discharge activity.

The fuel gauging functions use voltage, current, and temperature measurements to provide state-of-health (SOH) data and end-of-service (EOS) warning information where the host can read the gathered data through a 400-kHz I2C bus. An ALERT output, based on a variety of configurable status and data options, is also available to interrupt the host.

Elecena nie prowadzi sprzedaży elementów elektronicznych, ani w niej nie pośredniczy.

Produkt pochodzi z oferty sklepu