Low Power Audio Codec
Analog Devices
RSS
Sample
- Darmowa próbka
- MPN:
- SSM2604
- Producent:
- ANALOG DEVICES
- Dodany do bazy:
- Ostatnio widziany:
- Zmiana ceny:
- -100% (17.01.2025)
- Poprzednia cena:
- 2.74
Sugerowane produkty dla ssm2604
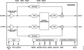
The SSM2604 is a low power, high quality stereo audio codec for portable digital audio applications with one set of stereo programmable gain amplifier (PGA) line inputs. It features two 24-bit analog-to-digital converter (ADC) channels and two 24-bit digital-to-analog (DAC) converter channels.
The SSM2604 can operate as a master or a slave. It supports various master clock frequencies, including 12 MHz or 24 MHz for USB devices; standard 256 fS or 384 fS based rates, such as 12.288 MHz and 24.576 MHz; and many common audio sampling rates, such as 96 kHz, 88.2 kHz, 48 kHz, 44.1 kHz, 32 kHz, 24 kHz, 22.05 kHz, 16 kHz, 12 kHz, 11.025 kHz, and 8 kHz.
The SSM2604 can operate at power supplies as low as 1.8 V for the analog circuitry and as low as 1.5 V for the digital circuitry. The maximum voltage supply is 3.6 V for all supplies.
The SSM2604 is specified over the industrial temperature range of −40°C to +85°C. It is available in a 20-lead, 4 mm × 4 mm lead frame chip scale package (LFCSP).
APPLICATIONS
* Mobile phones
* MP3 players
* Portable gaming
* Portable electronics
* Educational toys
* Stereo, 24-bit analog-to-digital and digital-to-analog converters
* DAC SNR: 100 dB (A-weighted), THD: −80 dB at 48 kHz, 3.3 V
* ADC SNR: 90 dB (A-weighted), THD: −80 dB at 48 kHz, 3.3 V
* Stereo line inputs
* Low power
* 7 mW stereo playback (1.8 V/1.5 V supplies)
* 14 mW record and playback (1.8 V/1.5 V supplies)
Elecena nie prowadzi sprzedaży elementów elektronicznych, ani w niej nie pośredniczy.
Produkt pochodzi z oferty sklepu Analog Devices