elecena.pl

High Performance, 8-Channel, Fault-Protected Analog Multiplexer

Analog Devices

High Performance, 8-Channel, Fault-Protected Analog Multiplexer RSS Sample
  • Darmowa próbka
MPN:
ADG438F
Producent:
ANALOG DEVICES
Dodany do bazy:
Ostatnio widziany:
Zmiana ceny:
-100% (19.01.2025)
Poprzednia cena:
5.15

The ADG438F and ADG439F are CMOS analog multiplexers, with the ADG438F comprising eight single channels and the ADG439F comprising four differential channels. These multiplexers provide fault protection. Using a series n-channel, p-channel, and n-channel MOSFET structure, both device and signal source protection is provided in the event of an overvoltage or power loss. The multiplexer can withstand continuous overvoltage inputs from −40 V to +55 V. During fault conditions with power supplies off, the multiplexer input (or output) appears as an open circuit and only a few nanoamperes of leakage current flows. This protects not only the multiplexer and the circuitry driven by the multiplexer, but also protects the sensors or signal sources which drive the multiplexer.

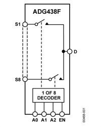
The ADG438F switches one of eight inputs to a common output as determined by the 3-bit binary address lines, A0, A1, and A2. The ADG439F switches one of four differential inputs to a common differential output as determined by the 2-bit binary address lines, A0 and A1. An EN input on each device is used to enable or disable the device. When disabled, all channels are switched off.

PRODUCT HIGHLIGHTS

* Fault Protection. The ADG438F and ADG439F can with-stand continuous voltage inputs up to −40 V or +55 V. When a fault occurs due to the power supplies being turned off, all the channels are turned off and only a leakage current of a few nanoamperes flows.

* On channel saturates while fault exists.

* Low RON.

* Fast Switching Times.

* Break-Before-Make Switching. Switches are guaranteed break-before-make so that input signals are protected against momentary shorting.

* Trench Isolation Eliminates Latch-Up. A dielectric trench separates the p-channel and n-channel MOSFETs thereby preventing latch-up.

* Improved Off Isolation. Trench isolation enhances the channel-to-channel isolation of the ADG438F / ADG439F.

APPLICATIONS

* Data acquisition systems

* Industrial and process control systems

* Avionics test equipment

* Signal routing between systems

* High reliability control systems

* All switches off with power supply off

* Analog Output of ON Channel Clamped within Power Supplies If an Overvoltage Occurs

* Latch-up proof construction

* Fault and Overvoltage Protection

(-40 V, + 55 V)

Elecena nie prowadzi sprzedaży elementów elektronicznych, ani w niej nie pośredniczy.

Produkt pochodzi z oferty sklepu