elecena.pl

18-Bit 500kSPS 8-Channel Simultaneous-Sampling ADC With Bipolar Inputs on a Single Supply

Texas Instruments

18-Bit 500kSPS 8-Channel Simultaneous-Sampling ADC With Bipolar Inputs on a Single Supply RSS Sample
  • Darmowa próbka
MPN:
ADS8598H
Producent:
TEXAS INSTRUMENTS
Dodany do bazy:
Ostatnio widziany:

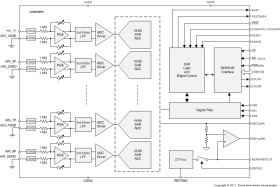
The ADS8598H device is an 8-channel, integrated data acquisition (DAQ) system based on a 18-bit successive approximation (SAR) analog-to-digital converter (ADC). All input channels are simultaneously sampled to achieve a maximum throughput of 500 kSPS per channel. The device features a complete analog front-end (AFE) for each channel, including a programmable gain amplifier (PGA) with high input impedance of 1 MΩ, input clamp, low-pass filter, and an ADC input driver. The device also features a low-drift, precision reference with a buffer to drive the ADC. A flexible digital interface supporting serial, parallel, and parallel byte communication enables the device to be used with a variety of host controllers.

The ADS8598H can be configured to accept ±10-V or ±5-V true bipolar inputs using a single 5-V supply. The high input impedance allows direct connection with sensors and transformers, thus eliminating the need for external driver circuits. The high performance and accuracy, along with zero-latency conversions offered by this device, also makes the ADS8598H a great choice for many industrial automation and control applications.

Elecena nie prowadzi sprzedaży elementów elektronicznych, ani w niej nie pośredniczy.

Produkt pochodzi z oferty sklepu