elecena.pl

SimpleLink™ 32-bit Arm Cortex-M4 dual-band Wi-Fi® wireless MCU with 256kB RAM

Texas Instruments

SimpleLink™ 32-bit Arm Cortex-M4 dual-band Wi-Fi® wireless MCU with 256kB RAM RSS Sample
  • Darmowa próbka
MPN:
CC3235S
Producent:
TEXAS INSTRUMENTS
Dodany do bazy:
Ostatnio widziany:

The dual-band wireless MCU CC3235x device comes in two variants, CC3235S and C3235SF.

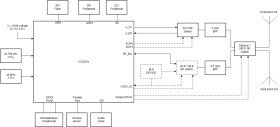
* The CC3235S includes 256KB of RAM, IoT networking security, device identity/keys, as well as, MCU level security features such as file system encryption, user IP (MCU image) encryption, secure boot, and debug security. * The CC3235SF builds on the CC3235S and integrates a user-dedicated 1MB of executable flash in addition to the 256KB of RAM. Simplify your IoT design with a Wi-Fi CERTIFIED™ wireless microcontroller (MCU). The SimpleLink™ Wi-Fi® CC3235x device family is a dual-band system-on-chip (SoC) solution that integrates two processors within a single chip, including:

* Application processor: Arm® Cortex®-M4 MCU with a user-dedicated 256KB of RAM and an optional 1MB of executable flash * Network processor to run all Wi-Fi and internet logical layers. This ROM-based subsystem completely offloads the host MCU and includes an 802.11 a/b/g/n dual-band 2.4GHz and 5GHz radio, baseband, and MAC with a powerful hardware cryptography engine These devices introduce new capabilities that further simplify the connectivity of things to the Internet. The main new features include:

* 802.11a (5GHz) support * BLE/2.4GHz radio coexistence * Antenna selection * Enhanced security with FIPS 140-2 Level 1 certification and more (1) * Up to 16 concurrent secure sockets * Certificate sign request (CSR) * Online certificate status protocol (OCSP) * Wi-Fi® Alliance certified IoT power-saving features (such as DMS, proxy ARP, and so forth) * Hostless mode for offloading template packet transmissions * Improved fast scan The CC3235x device family is part of the SimpleLink™ MCU platform—a common, easy-to-use development environment based on a single-core software development kit (SDK) with a rich tool set and reference designs. The E2E™ community supports Wi-Fi®, Bluetooth low energy, Sub-1GHz, and host MCUs. For more information, visit www.ti.com/simplelink or www.ti.com/simplelinkwifi.

(1)For exact status of FIPS certification for a specific part number, please refer to https://csrc.nist.gov/publications/fips.

Elecena nie prowadzi sprzedaży elementów elektronicznych, ani w niej nie pośredniczy.

Produkt pochodzi z oferty sklepu