Stellaris LM3S Microcontroller
Texas Instruments
RSS
Sample
- Darmowa próbka
- MPN:
- LM3S1751
- Producent:
- TEXAS INSTRUMENTS
- Dodany do bazy:
- Ostatnio widziany:
Sugerowane produkty dla or16
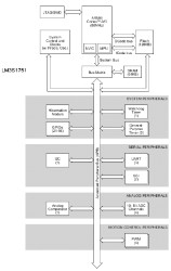
The Stellaris® LM3S1751 microcontroller is based on the ARM® Cortex™-M3 controller core operating at up to 50 MHz, with 128 kB flash and 64 kB SRAM. The LM3S1751 also features real-time industrial connectivity, with 2 SSI / SPI controllers, an I2C interface, and 3 UARTs. The LM3S1751 microcontroller also features advanced motion control features, including 4 motion-control PWM outputs with dead-band and 1 fault protection inputs for low-latency shutdown. The microcontroller also features intelligent analog capability, including 1 analog comparators and 4 channels of highly accurate 10-bit analog-to-digital conversion - with the ability to sample at speeds of 500K samples per second. Finally, the LM3S1751 microcontroller provides a 24-bit systick timer, 3 32-bit or 6 16-bit general-purpose timers, a watchdog timer, a battery-backed hibernation module with RTC and 256 bytes of non-volatile state-saving memory, a low drop-out voltage regulator so that only one supply voltage is required, brown-out reset, power-on reset controller, and up to 56 GPIOs.
Elecena nie prowadzi sprzedaży elementów elektronicznych, ani w niej nie pośredniczy.
Produkt pochodzi z oferty sklepu Texas Instruments