Stellaris LM3S Microcontroller
Texas Instruments
RSS
Sample
- Darmowa próbka
- MPN:
- LM3S6432
- Producent:
- TEXAS INSTRUMENTS
- Dodany do bazy:
- Ostatnio widziany:
Sugerowane produkty dla and32
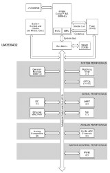
The Stellaris® LM3S6432 microcontroller is based on the ARM® Cortex™-M3 controller core operating at up to 50 MHz, with 96 kB flash and 32 kB SRAM. The LM3S6432 also features real-time industrial connectivity, with a 10/100 Ethernet MAC/PHY, an SSI / SPI controller, an I2C interface, and 2 UARTs. The LM3S6432 microcontroller also features advanced motion control features, including 2 motion-control PWM outputs with dead-band and 1 fault protection inputs for low-latency shutdown. The microcontroller also features intelligent analog capability, including 2 analog comparators and 3 channels of highly accurate 10-bit analog-to-digital conversion - with the ability to sample at speeds of 250K samples per second. Finally, the LM3S6432 microcontroller provides a 24-bit systick timer, 3 32-bit or 6 16-bit general-purpose timers, a watchdog timer, a low drop-out voltage regulator so that only one supply voltage is required, brown-out reset, power-on reset controller, and up to 43 GPIOs.
Elecena nie prowadzi sprzedaży elementów elektronicznych, ani w niej nie pośredniczy.
Produkt pochodzi z oferty sklepu Texas Instruments