Precision Analog-to-Digital Converter (ADC) with 8051 Microcontroller and 16k Flash Memory
Texas Instruments
RSS
Sample
- Darmowa próbka
- MPN:
- MSC1210Y4
- Producent:
- TEXAS INSTRUMENTS
- Dodany do bazy:
- Ostatnio widziany:
Sugerowane produkty dla msc1210
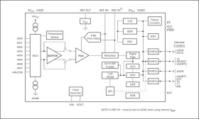
The MSC1210Yx is a completely integrated family of mixed-signal devices incorporating a high-resolution delta-sigma ADC, 8-channel multiplexer, burnout current sources, selectable buffered input, offset DAC (digital-to-analog converter), PGA (programmable gain amplifier), temperature sensor, voltage reference, 8-bit microcontroller, Flash Program Memory, Flash Data Memory, and Data SRAM, as shown in Figure 8.
On-chip peripherals include an additional 32-bit accumulator, an SPI compatible serial port, dual USARTs, multiple digital input/output ports, watchdog timer, low-voltage detect, on-chip power-on reset, 16-bit PWM, and system timers, brownout reset, and three timer/counters.
The microcontroller core is 8051 instruction set compatible. The microcontroller core is an optimized 8051 core that executes up to three times faster than the standard 8051 core, given the same clock source. That makes it possible to run the device at a lower external clock frequency and achieve the same performance at lower power than the standard 8051 core.
The MSC1210Yx allows the user to uniquely configure the Flash and SRAM memory maps to meet the needs of their application. The Flash is programmable down to 2.7V using both serial and parallel programming methods. The Flash endurance is 1 million Erase/Write cycles. In addition, 1280 bytes of RAM are incorporated on-chip.
The part has separate analog and digital supplies, which can be independently powered from 2.7V to +5.25V. At +3V operation, the power dissipation for the part is typically less than 4mW. The MSC1210Yx is packaged in a TQFP-64 package.
The MSC1210Yx is designed for high-resolution measurement applications in smart transmitters, industrial process control, weigh scales, chromatography, and portable instrumentation.
Elecena nie prowadzi sprzedaży elementów elektronicznych, ani w niej nie pośredniczy.
Produkt pochodzi z oferty sklepu Texas Instruments