LVDT sensor signal conditioner
Texas Instruments
RSS
Sample
- Darmowa próbka
- MPN:
- PGA970
- Producent:
- TEXAS INSTRUMENTS
- Dodany do bazy:
- Ostatnio widziany:
Sugerowane produkty dla pga970
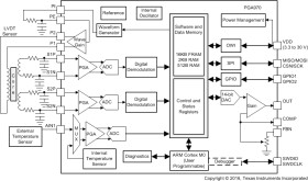
The PGA970 is a highly integrated system-on-chip LVDT sensor-signal conditioner with advanced signal-processing capabilities. It contains a three-channel, low-noise, programmable-gain, analog front end that allows direct connection to the sense element, followed by three independent 24-bit delta-sigma ADCs.
Further, the device contains a digital signal-demodulation block that interfaces to an integrated ARM-Cortex M0 MCU, allowing implementation of custom sensor-compensation algorithms stored in the device nonvolatile memory. External system communication is achieved by using any of the SPI, OWI, GPIO, or PWM digital interfaces. Analog output is supported through a 14-bit DAC and programmable-gain amplifier offering reference or absolute-voltage output. Sensing-element excitation is achieved by the use of an integrated waveform generator and waveform amplifier. The waveform signal data is user-defined and stored in a designated RAM memory area.
Besides the primary functional components, the PGA970 is equipped with additional support circuitry. The device diagnostics, sensor diagnostics, and integrated temperature sensor provide protection and information about the integrity of the overall system and sensing element. The device also includes a gate-controller circuit which when used with an external depletion MOSFET can regulate the device supply voltage in systems where the supply voltage exceeds 30 V.
Elecena nie prowadzi sprzedaży elementów elektronicznych, ani w niej nie pośredniczy.
Produkt pochodzi z oferty sklepu Texas Instruments