elecena.pl

Four-port USB 3.2 x1 gen1 hub

Texas Instruments

Four-port USB 3.2 x1 gen1 hub RSS Sample
  • Darmowa próbka
MPN:
TUSB8042A
Producent:
TEXAS INSTRUMENTS
Dodany do bazy:
Ostatnio widziany:

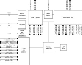
The TUSB8042A is a four-port USB 3.2 x1 Gen1 (5Gbps) hub. The device provides simultaneous SuperSpeed USB, high-speed, or full-speed connections on the upstream port. The device also provides SuperSpeed USB, high-speed, full-speed, or low-speed connections on the downstream port. When the upstream port is connected to an electrical environment that only supports high-speed, full-speed, or low-speed connections, SuperSpeed USB connectivity is disabled on the downstream ports.

When the upstream port is connected to an electrical environment that only supports full-speed or low-speed connections, SuperSpeed USB and high-speed connectivity are disabled on the downstream ports.

The TUSB8042A supports per port or ganged power switching and overcurrent protection, and supports battery charging applications.

An individually port power controlled hub switches power on or off to each downstream port as requested by the USB host. Also when an individually port power controlled hub senses an overcurrent event, only power to the affected downstream port is switched off.

A ganged hub switches on power for all the downstream ports when power is required for any port. The power to the downstream ports is not switched off unless all ports are in a state that allows power to be removed. Also when a ganged hub senses an overcurrent event, power to all downstream ports is switched off.

The TUSB8042A downstream ports provide support for battery charging applications by providing Battery Charging Downstream Port (CDP) handshaking support. The device also supports a Dedicated Charging Port (DCP) mode when the upstream port is not connected. The DCP mode supports USB devices which support with the USB Battery Charging, Galaxy Charging, and Chinese Telecommunications Industry Standard YD/T 1591-2009. In addition when upstream port is unconnected, the TUSB8042A supports the divider charging port modes (ACPx modes) and an automatic transition through all modes, starting with ACP3 and ending in DCP.

The TUSB8042A provides pin strap configuration for some features including battery-charging support, and also provides customization though OTP ROM, I2C EEPROM, or through an I2C/SMBus target interface for PID, VID, and custom port and phy configurations. Custom string support is also available when using an I2C EEPROM or the I2C/SMBus target interface.

The device is available in a 64-pin RGC package and is offered in a commercial version (TUSB8042A) for operation over the temperature range of 0°C to 70°C, and in an industrial version (TUSB8042AI) for operation over the temperature range of –40°C to 85°C.

Elecena nie prowadzi sprzedaży elementów elektronicznych, ani w niej nie pośredniczy.

Produkt pochodzi z oferty sklepu