NTSC/PAL/SECAM/component 10-bit digital video decoder with macrovisionTM detection, 3D-YC/5-line com
Texas Instruments
RSS
Sample
- Darmowa próbka
- MPN:
- TVP5160
- Producent:
- TEXAS INSTRUMENTS
- Dodany do bazy:
- Ostatnio widziany:
Sugerowane produkty dla macrovisiontm
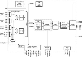
The TVP5160 device is a high quality, digital video decoder that digitizes and decodes all popular baseband analog video formats into digital component video. The TVP5160 decoder supports the A/D conversion of component YPbPr and RGB (SCART) signals, as well as the A/D conversion and decoding of NTSC, PAL, and SECAM composite and S-Video into component YCbCr. Additionally, component progressive signals can be digitized. The chip includes two 11-bit, 60-MSPS, A/D converters (ADCs). Prior to each ADC, each analog channel contains an analog circuit, which clamps the input to a reference voltage and applies a programmable gain and offset. A total of 12 video input terminals can be configured to a combination of YPbPr, RGB, CVBS, and S-Video video inputs.
Progressive component signals are sampled at 2x clock frequency (54 MHz) and are then decimated to the 1x rate. In SCART mode the component inputs and the CVBS inputs are sampled at 54 MHz alternately, then decimated to the 1x rate. Composite or S-Video signals are sampled at 4x the ITU-R BT.601 clock frequency (54 MHz), line-locked for correct pixel alignment, and are then decimated to the 1x rate. CVBS decoding uses advanced 3D Y/C filtering and 2-dimensional complementary 5-line adaptive comb filtering for both the luma and chroma data paths to reduce both cross-luma and cross-chroma artifacts. 3D Y/C color separation may be used on both PAL and NTSC video signals. A chroma trap filter is also available. On CVBS and Y/C inputs, the user can control video characteristics such as hue, contrast, brightness, and saturation via an I2C host port interface. Furthermore, luma peaking with programmable gain is included, as well as a patented color transient improvement (CTI) circuit. Attenuation at higher frequencies or asymmetrical color subcarrier sidebands are compensated using the IF compensation block. Frame adaptive noise reduction may be applied to reduce temporal noise on CVBS, S-Video, or component inputs.
3D noise reduction and 3D Y/C separation may be used at the same time or independently.
The TVP5160 decoder uses Texas Instruments' patented technology for locking to weak, noisy, or unstable signals and can auto-detect between broadcast quality and VCR-style (nonstandard) video sources.
The TVP5160 decoder generates synchronization, blanking, field, active video window, horizontal and vertical syncs, clock, genlock (for downstream video encoder synchronization), host CPU interrupt and programmable logic I/O signals, in addition to digital video outputs.
The TVP5160 decoder includes methods for advanced vertical blanking interval (VBI) data retrieval. The VBI data processor (VDP) slices and performs error checking on teletext, closed caption, and other VBI data. A built-in FIFO stores up to 11 lines of teletext data, and, with proper host port synchronization, full-screen teletext retrieval is possible. The TVP5160 decoder can pass through the output formatter 2x sampled raw Luma data for host-based VBI processing.
Digital RGB overlay can be synchronously switched with any video input, with all signals being oversampled at 4x the pixel rate.
The TVP5160 detailed functionality includes:
* Two high-speed, 60-MSPS, 11-bit, A/D channels with programmable clamp and gain control The two ADCs can sample CVBS or S-Video at 54 MHz. YPbPr/RGB is multiplexed between the two ADCs which sample at 54 MHz giving a channel sampling frequency of 27 MHz.
* Supports ITU-R BT.601 pixel sampling frequencies. Supports ITU-R BT.601 sampling for both interlaced and progressive signals.
* RGB-to-YUV color space conversion for SCART signals * 3D Y/C separation or 2D 5-line (5H) adaptive comb and chroma trap filter 3-frame NTSC and PAL color separation
* Temporal frame recursive noise reduction (3DNR) Frame recursive noise reduction can be applied to interlaced CVBS, S-Video, or component inputs for interlaced signals. Noise reduction can be used at the same time as 3D Y/C separation. Noise reduction cannot be applied to progressive video signals.
* Line-based time base correction (TBC) Line-based time correction corrects for horizontal phase errors encountered during video decoding up to ±80 pixels of error. This improves the output video quality from jittery sources such as VCRs. It also reduces line tearing during video trick modes such as fast forward and rewind.
* IF compensation Attenuation at higher frequencies or asymmetrical color subcarrier sidebands are compensated using the IF compensation block
* Fast switch 4x oversampling for digital RGB overlay signals for switching between any CVBS, S-Video, or component video inputs The fast switch overlay signals (FSO, DR, DG, DB) are oversampled at 4x the pixel clock frequency. The phase of these signals is used to mix the selected video input format and a digital RGB input to generate an output video stream. This improves the overlay picture quality when the external FSO and digital RGB signals are generated by an asynchronous source.
* SCART 4x oversampled fast switching between component RGB input and CBVS input The SCART overlay control signal (FSS) is oversampled at 4x the pixel clock frequency. The phase of this signal is used to mix between the CVBS input and the analog RGB inputs. This improves the analog overlay picture quality when the external FSS and analog video signals are generated by an asynchronous source.
* Analog video output \Buffered analog output with automatic PGA
* Supports NTSC (J, M, 4.43), PAL (B, D, G, H, I, M, N, Nc, 60), SECAM (B, D, G, K, K1, L), CVBS, and S-Video * Twelve analog video input terminals for multi-source connection * User-programmable video output formats 10-bit ITU-R BT.656 4:2:2 YCbCr with embedded syncs 20-bit 4:2:2 YCbCr with discrete syncs 10-bit 4:2:2 YCbCr with discrete syncs 2x sampled raw VBI data in active video during a vertical blanking period Sliced VBI data during a horizontal blanking period * HS/VS outputs with programmable position, polarity, and width and FID (Field ID) output * Composite and S-Video processing Adaptive 3D/2D Y/C separation using 5-line adaptive comb filter for composite video inputs; chroma-trap available Automatic video standard detection and switching (NTSC/PAL/SECAM/progressive) Luma-peaking with programmable gain Output data rates either 1x or 2x pixel rate Patented architecture for locking to weak, noisy, or unstable signals Single 14.31818-MHz reference crystal for all standards (ITU-R.BT601 sampling, interlaced or progressive) Line-locked internal pixel sampling clock generation with horizontal and vertical lock signal outputs Certified Macrovision copy protection detection on composite and S-Video inputs (NTSC, PAL) Genlock output (RTC) for downstream video encoder synchronization * Vertical blank interval data processor Teletext (NABTS, WST) Closed caption (CC) and extended data service (XDS) Wide screen signaling (WSS) Copy generation management system (CGMS) Video program system (VPS/PDC) Vertical interval time code (VITC) EPG video guide 1x/2x (Gemstar) V-Chip decoding Custom mode Register readback of CC, CGMS, WSS, VPS, VITC, V-Chip, EPG 1x and 2x sliced data, CGMS-A and RC for progressive signals. * I2C host port interface * "e;Blue"e; screen output * Macrovision copy protection detection circuit (types 1, 2, and 3) on both interlaced and progressive signals Macrovision detection on standard definition signals of types 1, 2, and 3, and to Revision 1.2 for progressive signals
* Reduced power consumption: 1.8-V digital core, 3.3-V and 1.8-V analog core with power-save and power-down modes * 128-TQFP PowerPAD™ package The TVP5160 decoder is initialized and controlled by a set of internal registers that define the operating parameters of the entire device. Communication between the external controller and the TVP5160 decoder is through a standard I2C host port interface, as described earlier.
Elecena nie prowadzi sprzedaży elementów elektronicznych, ani w niej nie pośredniczy.
Produkt pochodzi z oferty sklepu Texas Instruments