elecena.pl

CCD Signal Processor with Vertical Driver and ™ Generator

Analog Devices

CCD Signal Processor with Vertical Driver and ™ Generator RSS Sample
  • Darmowa próbka
MPN:
AD9925
Producent:
ANALOG DEVICES
Dodany do bazy:
Ostatnio widziany:

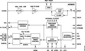
The AD9925 is a complete 36 MHz front-end solution for digital still camera and other CCD imaging applications. Based on the AD9995 product, the AD9925 includes the analog front end and a fully-programmable timing generator, combined with a 10-channel Vertical Driver (V-Driver). A Precision Timing core allows adjustment of high-speed clocks with approximately 600 ps resolution at 36 MHz operation.

The on-chip V-Driver supports up to 10 channels for use with 3-Field (6-Phase) CCDs. Two additional vertical outputs can be used with CCDs containing advanced video mode readout. Voltage levels of up to +15V and -8V are supported.

The analog front end includes black level clamping, CDS, VGA, and a 12-Bit A/D converter. The timing generator and V-Driver provide all the necessary CCD clocks: RG, H-clocks, V-clocks, sensor gate pulses, substrate clock, and substrate bias control. The internal registers are programmed using a 3-wire serial interface.

Packaged in an 8x8mm CSPBGA, the AD9925 is specified over an operating temperature range of –25°C to +85°C.

* Integrated 10-Channel V-Driver * Register Compatible with AD9991 and AD9995 * 3-Field (6-Phase) Vertical Clock Support * 2 Additional Vertical Outputs for Advanced CCDs * Complete On-Chip Timing Generator * Precision Timing™ Core with <600 ps Resolution

Elecena nie prowadzi sprzedaży elementów elektronicznych, ani w niej nie pośredniczy.

Produkt pochodzi z oferty sklepu