elecena.pl

Dual-Channel CCD Signal Processor with Core

Analog Devices

Dual-Channel CCD Signal Processor with Core RSS Sample
  • Darmowa próbka
MPN:
ADDI7013
Producent:
ANALOG DEVICES
Dodany do bazy:
Ostatnio widziany:

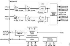
The ADDI7013 is a highly integrated, dual-channel, CCD signal processor for high speed digital imaging applications. Each channel is specified at pixel rates of up to 75 MHz and consists of a complete analog front end (AFE) with analog-to-digital conversion. The Precision Timing® core allows adjustment of the correlated double sampler (CDS) and horizontal clocks with 210 ps resolution at 75 MHz operation. There are eight independent horizontal clock outputs with programmable drive strength to support a variety of CCD timing requirements.

Each analog front end includes black level clamping, a CDS, a VGA, and a 75 MSPS, 16-bit analog-to-digital converter (ADC). Operation is programmed using a 3-wire serial interface.

Packaged in a space-saving, 6 mm × 6 mm, CSPBGA, the ADDI7013 is specified over an operating temperature range of −40°C to +85°C.

APPLICATIONS

* Industrial cameras

* Surveillance cameras

* Medical imaging

* Professional photography

* CDS or SHA (CDS bypass) with 7 gain settings

* 0 dB to 36 dB, 10-bit variable gain amplifier (VGA)

* 16-bit, 75 MSPS analog-to-digital converter (ADC)

* Precision Timing core with 210 ps resolution at 75 MHz

* 8 independent H-clock phases with programmable drive strength (3.6V maximum swing)

Elecena nie prowadzi sprzedaży elementów elektronicznych, ani w niej nie pośredniczy.

Produkt pochodzi z oferty sklepu