elecena.pl

Dual-Channel, 14-Bit CCD Signal Processor with ™ Core

Analog Devices

Dual-Channel, 14-Bit CCD Signal Processor with ™ Core RSS Sample
  • Darmowa próbka
MPN:
AD9977
Producent:
ANALOG DEVICES
Dodany do bazy:
Ostatnio widziany:

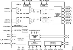
The AD9977 is a highly integrated dual channel CCD signal processor for high speed digital video camera applications. Each channel is specified at pixel rates of up to 65 MHz, and consists of a complete analog front end with A/D conversion combined with a programmable timing driver. The Precision Timing core allows adjustment of high speed clocks with 240 ps resolution at 65 MHz operation. The AD9977 also contains a reduced range LVDS interface for the dual-channel data outputs.

Each analog front end includes black level clamping, CDS, VGA, and a 65 MSPS, 14-bit A/D converter. The timing driver provides the high speed CCD clock drivers for RG, HL, and H1 to H4. Operation is programmed using a 3-wire serial interface.

Packaged in a space-saving 6 mm × 6 mm, 84-ball CSPBGA package, the AD9977 is specified over an operating temperature range of −25°C to +85°C.

APPLICATIONS

* Professional HDTV camcorders

* Professional, high-end digital cameras

* Broadcast cameras

* Industrial high speed cameras

* 1.8 V analog and digital core supply voltage

* Serial data link with reduced range LVDS outputs

* Correlated double sampler (CDS) with −3, 0, +3, +6 dB gain

* 6 dB to 42 dB, 10-bit variable gain amplifier (VGA)

* Black level clamp with variable level control

Elecena nie prowadzi sprzedaży elementów elektronicznych, ani w niej nie pośredniczy.

Produkt pochodzi z oferty sklepu