2 ADC/8 DAC with PLL, 192 H, 24-Bit Codec
Analog Devices
RSS
Sample
- Darmowa próbka
- MPN:
- AD1928
- Producent:
- ANALOG DEVICES
- Dodany do bazy:
- Ostatnio widziany:
Sugerowane produkty dla ad1928
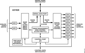
The AD1928 is a high performance, single-chip codec that provides two analog-to-digital converters (ADCs) with differential input and eight digital-to-analog converters (DACs) with single-ended output using the Analog Devices, Inc., patented multibit sigma-delta (Σ-Δ) architecture. An SPI port is included, allowing a microcontroller to adjust volume and many other parameters. The AD1928 operates from 3.3 V digital and analog supplies. The AD1928 is available in a 48-lead (single-ended output) LQFP package. Other members of this family include a differential DAC output and I2C® control port versions.
The AD1928 is designed for low EMI. This consideration is apparent in both the system and circuit design architectures. By using the on-board PLL to derive the master clock from the LR clock or from an external crystal, the AD1928 eliminates the need for a separate high frequency master clock and can be used with a suppressed bit clock. The digital-to-analog and analog-to-digital converters are designed using the latest Analog Devices continuous time architectures to further minimize EMI. By using 3.3 V supplies, power consumption is minimized, further reducing emissions.
Applications
* Automotive audio systems
* Home theater systems
* Set-top boxes
* Digital audio effects processors
* PLL-generated or direct master clock
* Low EMI design
* 108 dB DAC/107 dB ADC dynamic range and SNR
* −94 dB THD + N
* 3.3 V single supply
* Tolerance for 5 V logic inputs
* Supports 24 bits and 8 kHz to 192 kHz sample rates
Elecena nie prowadzi sprzedaży elementów elektronicznych, ani w niej nie pośredniczy.
Produkt pochodzi z oferty sklepu Analog Devices