elecena.pl

10-Bit, 10 channel Multiformat SDTV/HDTV Video Decoder and RGB Graphics Digitizer

Analog Devices

10-Bit, 10 channel Multiformat SDTV/HDTV Video Decoder and RGB Graphics Digitizer RSS Sample
  • Darmowa próbka
MPN:
ADV7181D
Producent:
ANALOG DEVICES
Dodany do bazy:
Ostatnio widziany:
Zmiana ceny:
-100% (20.01.2025)
Poprzednia cena:
7.63

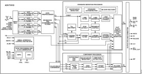
The ADV7181D is a high quality, single-chip, multiformat video decoder and graphics digitizer. This multiformat decoder supports the conversion of PAL, NTSC, and SECAM standards in the form of composite or S-Video into a digital ITU-R BT.656 format.

The ADV7181D also supports the decoding of a component RGB/YPrPb video signal into a digital YCrCb or RGB pixel output stream. Support for component video includes standards such as 525i, 625i, 525p, 625p, 720p, 1080i, and many other HD and SMPTE standards.

Graphics digitization is also supported by the ADV7181D; it is capable of digitizing RGB graphics signals from VGA to XGA rates and converting them into a digital DDR RGB or YCrCb pixel output stream. SCART and overlay functionality are enabled by the ability of the ADV7181D to simultaneously process CVBS and standard definition RGB signals. The mixing of these signals is controlled by the fast blank (FB) pin.

The ADV7181D contains two main processing sections. The first section is the standard definition processor (SDP), which processes all PAL, NTSC, and SECAM signal types. The second section is the component processor (CP), which processes YPrPb and RGB component formats, including RGB graphics.

The ADV7181D has unique software and hardware configuration requirements.

Applications

* Automotive entertainment

* HDTVs

* LCD/DLP® projectors

* HDTV STBs with PVR

* DVD recorders with progressive scan input support

* AVR receivers

* Four 10-bit ADCs sampling up to 75 MHz

* 10 analog input channels

* SCART fast blank support

* Internal antialiasing filters

* NTSC, PAL, and SECAM color standards supported

* 525p/625p component progressive scan supported

* 720p/1080i component HDTV supported

* Digitizes RGB graphics up to 1024 × 768 at 70 Hz (XGA)

* 3 × 3 color space conversion matrix

* Industrial temperature range: −40°C to +85°C

* 12-bit 4:4:4 DDR, 8-/10-/16-/20-bit SDR pixel output interface

* Programmable interrupt request output pin

* Small package

* Low pin count

* Single front end for video and graphics

* VBI data slicer (including teletext)

* Qualified for automotive applications

Elecena nie prowadzi sprzedaży elementów elektronicznych, ani w niej nie pośredniczy.

Produkt pochodzi z oferty sklepu