Non-Isolated AC Strain or Torque Input Signal Conditioning Module
Analog Devices
RSS
Sample
- Darmowa próbka
- MPN:
- 3B20
- Producent:
- ANALOG DEVICES
- Dodany do bazy:
- Ostatnio widziany:
Sugerowane produkty dla ac2626
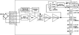
The 3B Series Signal Conditioning I/O Subsystem provides a low cost, versatile method of interconnecting real world analog signals to a data acquisition, monitoring or control system. It is designed to interface directly to analog signals such as thermocouple, RTD, ac and dc Strain Gage, Torque Transducer, Frequency, LVDT, AD590/AC2626 solid state temperature sensor outputs, and millivolt or process current signals, and convert the inputs to standardized analog outputs compatible with high level analog I/O subsystems.
The 3B Series Subsystem consists of a 19" relay rack, compatible universal mounting backplane and a family of plug-in input and output signal conditioning modules (up to 16 per rack). 8- and 4-channel backplanes are also available. Each backplane incorporates screw terminals for sensor inputs and current outputs and a connector for high level, single-ended outputs to the user’s equipment.
Input and output modules are offered in both isolated (±1500 V peak) and nonisolated versions. The input modules feature complete signal conditioning circuitry optimized for specific sensors or analog signals, and provide high level analog outputs. Each input module provides two simultaneous outputs: 0 V to +10 V (or ±10 V) and 4–20 mA (or 0–20 mA). Output modules accept 0 V to +10 V (or ±10 V) single ended signals and provide an isolated or nonisolated 4–20 mA (or 0–20 mA) process signal. All modules feature a universal pinout and may be readily “mixed and matched” and interchanged without disrupting field wiring.
Each backplane contains the provision for a subsystem power supply. The 3B Series Subsystem can operate either from a common dc/dc or ac power supply mounted on each backplane, or from externally provided dc power. Two LEDs are used to indicate that power is being applied.
* Accepts AC Strain Gage or ToqueTransducer Input
* Complete Strain Gage Conditioning
* 1kHz to 10Khz AC Excitation
Elecena nie prowadzi sprzedaży elementów elektronicznych, ani w niej nie pośredniczy.
Produkt pochodzi z oferty sklepu Analog Devices