elecena.pl

1-A Simple Step-Down Adjustable Voltage Switching Regulator with Output Enable

Texas Instruments

1-A Simple Step-Down Adjustable Voltage Switching Regulator with Output Enable RSS Sample
  • Darmowa próbka
MPN:
LM2575
Producent:
TEXAS INSTRUMENTS
Dodany do bazy:
Ostatnio widziany:

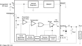
The LM2575 device greatly simplifies the design of switching power supplies by conveniently providing all the active functions needed for a step-down (buck) switching regulator in an integrated circuit. Accepting a wide input voltage range and available in an adjustable output version, the LM2575 has an integrated switch capable of delivering 1 A of load current, with excellent line and load regulation. The device also offers internal frequency compensation, a fixed-frequency oscillator, cycle-by-cycle current limiting, and thermal shutdown. In addition, a manual shutdown is available through an external ON/OFF pin.

The LM2575 represents a superior alternative to popular three-terminal linear regulators. Due to its high efficiency, it significantly reduces the size of the heat sink and, in many cases, no heat sink is required. Optimized for use with standard series of inductors available from several different manufacturers, the LM2575 greatly simplifies the design of switch-mode power supplies by requiring a minimal addition of only four to six external components for operation.

The LM2575 is characterized for operation over the virtual junction temperature range of –40°C to 125°C.

Elecena nie prowadzi sprzedaży elementów elektronicznych, ani w niej nie pośredniczy.

Produkt pochodzi z oferty sklepu