elecena.pl

Programmable Controller for Capacitance Touch Sensors

Analog Devices

Programmable Controller for Capacitance Touch Sensors RSS Sample
  • Darmowa próbka
MPN:
AD7142
Producent:
ANALOG DEVICES
Dodany do bazy:
Ostatnio widziany:
Zmiana ceny:
-100% (17.01.2025)
Poprzednia cena:
1.66

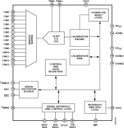
The AD7142 and AD7142-1 are integrated capacitance-to-digital converters (CDCs) with on-chip environmental calibration for use in systems requiring a novel user input method. The AD7142 and AD7142-1 can interface to external capacitance sensors implementing functions such as capacitive buttons, scroll bars, or wheels.

The CDC has 14 inputs channeled through a switch matrix to a 16-bit, 250 kHz sigma-delta (∑-Δ) capacitance-to-digital converter. The CDC is capable of sensing changes in the capacitance of the external sensors and uses this information to register a sensor activation. The external sensors can be arranged as a series of buttons, as a scroll bar or wheel, or as a combination of sensor types. By programming the registers, the user has full control over the CDC setup. High resolution sensors require minor software to run on the host processor.

The AD7142 and AD7142-1 have on-chip calibration logic to account for changes in the ambient environment. The calibration sequence is performed automatically and at continuous intervals, when the sensors are not touched. This ensures that there are no false or nonregistering touches on the external sensors due to a changing environment.

The AD7142 has an SPI-compatible serial interface, and the AD7142-1 has an I2C-compatible serial interface. Both parts have an interrupt output, as well as a general-purpose input/ output (GPIO).

The AD7142 and AD7142-1 are available in a 32-lead, 5 mm × 5 mm LFCSPVQ and operate from a 2.6 V to 3.6 V supply. The operating current consumption is less than 1 mA, falling to 50 μA in low power mode (conversion interval of 400 ms).

Applications

* Personal music and multimedia players

* Cell phones

* Digital still cameras

* Smart hand-held devices

* Television, A/V, and remote controls

* Gaming consoles

* Programmable capacitance-to-digital converter 36 ms update rate (@ maximum sequence length) Better than 1 fF resolution 14 capacitance sensor input channels No external RC tuning components required Automatic conversion sequencer * On-chip automatic calibration logic Automatic compensation for environmental changes Automatic adaptive threshold and sensitivity levels * On-chip RAM to store calibration data * SPI®-compatible serial interface (AD7142) * I2C®-compatible serial interface (AD7142-1)

Elecena nie prowadzi sprzedaży elementów elektronicznych, ani w niej nie pośredniczy.

Produkt pochodzi z oferty sklepu