200 MH Clock Generator PLL
Analog Devices
RSS
Sample
- Darmowa próbka
- MPN:
- ADF4001
- Producent:
- ANALOG DEVICES
- Dodany do bazy:
- Ostatnio widziany:
Sugerowane produkty dla adf4001
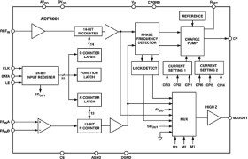
The ADF4001 frequency synthesizer can be used to implement clock sources for PLLs that require very low noise, stable reference signals. It consists of a low-noise digital PFD (Phase Frequency Detector), a precision charge pump, a programmable reference divider, and a programmable 13-bit N counter. In addition, the 14-bit reference counter (R Counter), allows selectable REFIN frequencies at the PFD input. A complete PLL (Phase-Locked Loop) can be implemented if the synthesizer is used with an external loop filter and VCO (Voltage Controlled Oscillator) or VCXO (Voltage Controlled Crystal Oscillator). The N min value of 1 allows flexibility in clock generation.
* 200 MHz Bandwidth
* 2.7 V to 5.5 V Power Supply
* Programmable Charge Pump Currents
* 3-Wire Serial Interface
* Hardware and Software Power-Down Mode
* Analog and Digital Lock Detect
Elecena nie prowadzi sprzedaży elementów elektronicznych, ani w niej nie pośredniczy.
Produkt pochodzi z oferty sklepu Analog Devices