elecena.pl

Enhanced High-Density I²C Backplane Controller

Analog Devices

Enhanced High-Density I²C Backplane Controller RSS Sample
  • Darmowa próbka
MPN:
VSC060
Producent:
ANALOG DEVICES
Dodany do bazy:
Ostatnio widziany:

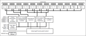
The VSC060 enhanced high-density I²C backplane controller is a CMOS integrated circuit that enables a system designer to reduce system cost by integrating all the digital logic typically required in a storage enclosure. The VSC060 can be used in any embedded control application including parallel SCSI, Fibre Channel, SAS, or SATA where the monitoring and control of a large number of digital I/O signals is required. Programming the VSC060 is easy through a convenient programming model, which reduces the overall duration of the design-in cycle. Data is read and written to the device over an addressable (3-bit) I²C serial interface, allowing multiple VSC060 devices on a single I²C bus.

To receive additional supporting documentation for this device, email

var name = "storage.support@";

var domain = "maximintegrated.com";

document.write ("" + name + domain + "");

.

Applications

* Disk-Based Backup Storage * Enterprise Storage Environments * Fabric Attached Storage (FAS) Systems * Fixed-Content Storage Systems * JBOD Arrays * Near-Line Storage Replacement Systems * Network Attached Stroage (NAS) Systems * Rack-Mounted Servers with RAID * Storage Area Network (SAN) Appliances

* Up to 96 Bits of User-Definable, Bidirectional, General-Purpose I/O (5V Tolerant)

* Slave Mode I²C Serial Interface

* Integrated Port Bypass, Clock Recovery, and Signal Detect Support for Up to 16 Drives

* Eight Programmable Fan-Speed-Monitoring Inputs

* Eight Programmable Pulse-Width-Modulated Fan Control Outputs

* Pairing of GPIO Pins for Direct Input/Output Signal Routing/Buffering

* Two Clock Input Ranges: 8.0MHz to 12.5MHz (Crystal or External Clock Source) or 32.0MHz to 75.0MHz (External Clock Source)

* Pin-Programmable Addressing for Up to 16 Devices on a Single Serial Bus

Elecena nie prowadzi sprzedaży elementów elektronicznych, ani w niej nie pośredniczy.

Produkt pochodzi z oferty sklepu