elecena.pl

Digital Thermometer and Real-Time Clock/Calendar

Analog Devices

Digital Thermometer and Real-Time Clock/Calendar RSS Sample
  • Darmowa próbka
MPN:
DS1629
Producent:
ANALOG DEVICES
Dodany do bazy:
Ostatnio widziany:
Zmiana ceny:
-100% (22.01.2025)
Poprzednia cena:
5.96

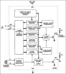
The DS1629 digital thermometer and real-time clock integrates the critical functions of a real-time clock and a temperature sensor in a 150mil 8-pin SO package (DS1629S). Communication to the DS1629 is accomplished through a 2-wire interface. The wide power supply range and minimal power requirement of the DS1629 allow for accurate time/temperature measurements in battery-powered applications.

The real-time clock/calendar provides seconds, minutes, hours, day, day of the week, date of the month, month, and year. The end of the month date is automatically adjusted for months with less than 31 days, including corrections for leap years. The real-time clock operates in either a 12- or 24-hour format with AM/PM indicator in 12-hour mode. The user-supplied crystal oscillator frequency is internally divided, as specified by device configuration. An open-drain oscillator output is provided that can be used as the clock input to a microcontroller.

The thermometer offers ±2°C accuracy over a -10°C to +85°C range. Thermometer data is read out in 2's complement format with 9 bits of resolution. Higher resolution readings can be calculated using data from the DS1629 counter and slope accumulator registers.

The open-drain alarm output of the DS1629 becomes active when either the measured temperature exceeds the programmed over-temperature limit (TH) or the current time reaches the programmed alarm setting. The user can configure which event (time only, temperature only, either, or neither) will generate an alarm condition. For storage of general system data or time/temperature datalogging, the DS1629 provides 32 bytes of SRAM.

Applications

* Computer Servers * Medical Devices

* Real-time clock/calendar

* ±2°C thermometer accuracy from -10°C to +85°C

* Measures temperatures from -55°C to +125°C (-67°F to +257°F)

* 9-bit (expandable) temperature resolution

* Thermostatic and time alarm settings are user-definable and nonvolatile

* Dedicated open-drain alarm output

* 32 bytes SRAM for general data storage

* Data is transferred over 2-wire/SMBus interface

* 2.7V to 5.5V supply range

* 150-mil 8-pin SO (DS1629S) package

Elecena nie prowadzi sprzedaży elementów elektronicznych, ani w niej nie pośredniczy.

Produkt pochodzi z oferty sklepu