Nonvolatile Timekeeping RAM
Analog Devices
RSS
Sample
- Darmowa próbka
- MPN:
- DS1642
- Producent:
- ANALOG DEVICES
- Dodany do bazy:
- Ostatnio widziany:
Sugerowane produkty dla ds1642
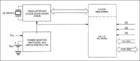
The DS1642 is a 2k x 8 nonvolatile static RAM and a full-function real-time clock (RTC), both of which are accessible in a bytewide format. The nonvolatile time keeping RAM is pin and function equivalent to any JEDEC-standard 2k x 8 SRAM. The device can also be easily substituted in ROM, EPROM, and EEPROM sockets, providing read/write nonvolatility and the addition of the real-time clock function. The real-time clock information resides in the eight uppermost RAM locations. The RTC registers contain year, month, date, day, hours, minutes, and seconds data in 24-hour BCD format. Corrections for the day of the month and leap year are made automatically. The RTC clock registers are double-buffered to avoid access of incorrect data that can occur during clock update cycles. The double-buffered system also prevents time loss as the timekeeping countdown continues unabated by access to time register data. The DS1642 also contains its own power-fail circuitry, which deselects the device when the VCC supply is in an out-of-tolerance condition. This feature prevents loss of data from unpredictable system operation brought on by low VCC as errant access and update cycles are avoided.
* Integrated NV SRAM, Real-Time Clock, Crystal, Power-Fail Control Circuit, and Lithium Energy Source
* Standard JEDEC Bytewide 2k x 8 Static RAM Pinout
* Clock Registers are Accessed Identically to the Static RAM. These Registers are Resident in the Eight Top RAM Locations
* Totally Nonvolatile with Over 10 Years of Operation in the Absence of Power
* Access Times of 85ns and 100ns
* Quartz Accuracy ±1 Minute a Month at +25°C, Factory Calibrated
* BCD-Coded Year, Month, Date, Day, Hours, Minutes, and Seconds with Leap Year Compensation Valid Up to 2100
* Power-Fail Write Protection Allows for ±10% VCC Power Supply Tolerance
* Lithium Energy Source is Electrically Disconnected to Retain Freshness Until Power is Applied for the First Time
Elecena nie prowadzi sprzedaży elementów elektronicznych, ani w niej nie pośredniczy.
Produkt pochodzi z oferty sklepu Analog Devices