elecena.pl

Nonvolatile Timekeeping RAM

Analog Devices

Nonvolatile Timekeeping RAM RSS Sample
  • Darmowa próbka
MPN:
DS1646P
Producent:
ANALOG DEVICES
Dodany do bazy:
Ostatnio widziany:

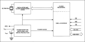
The DS1646 is a 128k x 8 nonvolatile static RAM with a full-function real time clock, which are both accessible in a byte-wide format. The nonvolatile timekeeping RAM is functionally equivalent to any JEDEC standard 128k x 8 SRAM. The device can also be easily substituted for ROM, EPROM and EEPROM, providing read/write nonvolatility and the addition of the real time clock function. The real time clock information resides in the eight uppermost RAM locations. The RTC registers contain year, month, date, day, hours, minutes, and seconds data in 24-hour BCD format. Corrections for the day of the month and leap year are made automatically. The RTC clock registers are double-buffered to avoid access of incorrect data that can occur during clock update cycles. The double-buffered system also prevents time loss as the timekeeping countdown continues unabated by access to time register data. The DS1646 also contains its own power-fail circuitry, which deselects the device when the VCC supply is in an out-of-tolerance condition. This feature prevents loss of data from unpredictable system operation brought on by low VCC as errant access and update cycles are avoided.

* Integrates NV SRAM, Real-Time Clock, Crystal, Power-Fail Control Circuit and Lithium Energy Source

* Clock Registers are Accessed Identically to the Static RAM. These Registers are Resident in the Eight Top RAM Locations

* Totally Nonvolatile with Over 10 Years of Operation in the Absence of Power

* BCD-Coded Year, Month, Date, Day, Hours,Minutes, and Seconds with Leap Year Compensation Valid Up to 2100

* Power-Fail Write Protection Allows for ±10% VCC Power Supply Tolerance

* DS1646 only (DIP Module) Standard JEDEC Bytewide 128k x 8 RAM Pinout

* DS1646P Only (PowerCap Module Board)

* Surface Mountable Package for Direct Connection to PowerCap Containing Battery and Crystal

* Replaceable Battery (PowerCap)

* Power-Fail Output

* Pin-for-Pin Compatible with Other Densities of DS164xP Timekeeping RAM

Elecena nie prowadzi sprzedaży elementów elektronicznych, ani w niej nie pośredniczy.

Produkt pochodzi z oferty sklepu