elecena.pl

Nonvolatile Timekeeping RAM

Analog Devices

Nonvolatile Timekeeping RAM RSS Sample
  • Darmowa próbka
MPN:
DS1647
Producent:
ANALOG DEVICES
Dodany do bazy:
Ostatnio widziany:

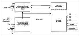
The DS1647 is a 512k x 8 nonvolatile static RAM with a full-function real-time clock, which are both accessible in a byte-wide format. The nonvolatile timekeeping RAM is functionally equivalent to any JEDEC standard 512k x 8 SRAM. The device can also be easily substituted for ROM, EPROM and EEPROM, providing read/write nonvolatility and the addition of the real-time clock function. The real-time clock information resides in the eight uppermost RAM locations. The RTC registers contain year, month, date, day, hours, minutes, and seconds data in 24-hour BCD format. Corrections for the day of the month and leap year are made automatically. The RTC clock registers are double-buffered to avoid access of incorrect data that can occur during clock update cycles. The double-buffered system also prevents time loss as the timekeeping countdown continues unabated by access to time register data. The DS1647 also contains its own power-fail circuitry, which deselects the device when the VCC supply is in an out-of-tolerance condition. This feature prevents loss of data from unpredictable system operation brought on by low VCC as errant access and update cycles are avoided.

* Integrates NV SRAM, Real-Time Clock, Crystal, Power-Fail Control Circuit, and Lithium Energy Source

* Clock Registers Are Accessed Identically to the Static RAM. These Registers are Resident in the Eight Top RAM Locations.

* Totally Nonvolatile with Over 10 Years of Operation in the Absence of Power

* BCD Coded Year, Month, Date, Day, Hours, Minutes, and Seconds with Leap Year Compensation Valid Through 2099

* Power-Fail Write Protection Allows for ±10% VCC Power-Supply Tolerance

* DS1647 Only (DIP Module):

* Standard JEDEC Byte-Wide 128k x 8 RAM Pinout

* DS1647P Only (PowerCap Module Board):

* Surface Mountable Package for Direct Connection to PowerCap Containing Battery and Crystal

* Replaceable Battery (PowerCap)

* Power-Fail Output

* Pin-for-Pin Compatible with Other Densities of DS164xP Timekeeping RAM

Elecena nie prowadzi sprzedaży elementów elektronicznych, ani w niej nie pośredniczy.

Produkt pochodzi z oferty sklepu