elecena.pl

Y2KC Nonvolatile Timekeeping RAM

Analog Devices

Y2KC Nonvolatile Timekeeping RAM RSS Sample
  • Darmowa próbka
MPN:
DS1742
Producent:
ANALOG DEVICES
Dodany do bazy:
Ostatnio widziany:

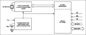
The DS1742 is a full-function, year 2000-compliant (Y2KC), real-time clock/calendar (RTC) and 2k x 8 nonvolatile static RAM. User access to all registers within the DS1742 is accomplished with a bytewide interface as shown in Figure 1. The RTC information and control bits reside in the eight uppermost RAM locations. The RTC registers contain century, year, month, date, day, hours, minutes, and seconds data in 24-hour BCD format. Corrections for the day of the month and leap year are made automatically.

The RTC clock registers are double-buffered to avoid access of incorrect data that can occur during clock update cycles. The double-buffered system also prevents time loss as the timekeeping countdown continues unabated by access to time register data. The DS1742 also contains its own power-fail circuitry, which deselects the device when the VCC supply is in an out-of-tolerance condition. This feature prevents loss of data from unpredictable system operation brought on by low VCC as errant access and update cycles are avoided.

* Integrated NV SRAM, Real-Time Clock, Crystal, Power-Fail Control Circuit and Lithium Energy Source

* Clock Registers are Accessed Identically to the Static RAM; These Registers are Resident in the Eight Top RAM Locations

* Century Byte Register

* Totally Nonvolatile with Over 10 Years of Operation in the Absence of Power

* BCD Coded Century, Year, Month, Date, Day, Hours, Minutes, and Seconds with Automatic Leap Year Compensation Valid Up to the year 2100

* Battery Voltage Level Indicator Flag

* Power-Fail Write Protection Allows for ±10% VCC Power Supply Tolerance

* Lithium Energy Source is Electrically Disconnected to Retain Freshness until Power is Applied for the First Time

* Standard JEDEC Bytewide 2k x 8 Static RAM Pinout

* Quartz Accuracy ±1 Minute a Month at +25°C, Factory Calibrated

Elecena nie prowadzi sprzedaży elementów elektronicznych, ani w niej nie pośredniczy.

Produkt pochodzi z oferty sklepu