elecena.pl

Y2K-Compliant, Nonvolatile Timekeeping RAMs

Analog Devices

Y2K-Compliant, Nonvolatile Timekeeping RAMs RSS Sample
  • Darmowa próbka
MPN:
DS1746P
Producent:
ANALOG DEVICES
Dodany do bazy:
Ostatnio widziany:

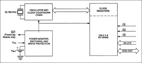
The DS1746 is a full-function, year-2000-compliant (Y2KC), real-time clock/calendar (RTC) and 128k x 8 nonvolatile static RAM. User access to all registers within the DS1746 is accomplished with a byte-wide interface as shown in Figure 1. The RTC information and control bits reside in the eight uppermost RAM locations. The RTC registers contain century, year, month, date, day, hours, minutes, and seconds data in 24-hour binary-coded decimal (BCD) format. Corrections for the date of each month and leap year are made automatically. The RTC clock registers are double buffered to avoid access of incorrect data that can occur during clock update cycles. The double-buffered system also prevents time loss as the timekeeping countdown continues unabated by access to time register data. The DS1746 also contains its own power-fail circuitry, which deselects the device when the VCC supply is in an out of tolerance condition. This feature prevents loss of data from unpredictable system operation brought on by low VCC as errant access and update cycles are avoided.

* Integrated NV SRAM, Real-Time Clock, Crystal, Power-Fail Control Circuit, and Lithium Energy Source

* Clock Registers are Accessed Identically to the Static RAM. These Registers are Resident in the Eight Top RAM Locations.

* Century Byte Register (i.e., Y2K Compliant)

* Totally Nonvolatile with Over 10 Years of Operation in the Absence of Power

* BCD-coded century, year, month, date, day, hours, minutes, and seconds with automatic leap year compensation valid up to the year 2100

* Battery Voltage-Level Indicator Flag

* Power-Fail Write Protection Allows for ±10% VCC Power Supply Tolerance

* Lithium Energy Source is Electrically Disconnected to Retain Freshness Until Power is Applied for the First Time

* DIP Module Only Standard JEDEC Byte-Wide 128k x 8 Static RAM Pinout

* PowerCap Module Board Only

* Surface Mountable Package for Direct

* Connection to PowerCap Containing

* Battery and Crystal

* Replaceable Battery (PowerCap)

* Power-On Reset Output Pin-for-Pin Compatible with Other Densities of DS174xP Timekeeping RAM

* Also Available in Industrial Temperature Range: -40°C to +85°C

Elecena nie prowadzi sprzedaży elementów elektronicznych, ani w niej nie pośredniczy.

Produkt pochodzi z oferty sklepu