elecena.pl

Dual Audio Taper Potentiometer

Analog Devices

Dual Audio Taper Potentiometer RSS Sample
  • Darmowa próbka
MPN:
DS1801
Producent:
ANALOG DEVICES
Dodany do bazy:
Ostatnio widziany:

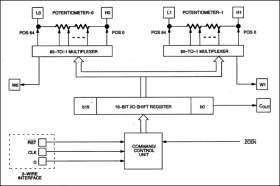
The 1801 Dual Audio Taper Potentiometer consists of two 65-position, 45kΩ digital potentiometers with logarithmic resistance properties incrementing 1dB per step.

The DS1801 operates with automatic software control via a serial 3-wire interface, where wiper settings are written with 8-bit words. The part can be used in either 3V or 5V environments and anywhere within the industrial temperature range of -40°C to +85°C. Also enabling flexible design possibilities, the DS1801 supports daisy-chaining with devices under single-processor control.

The DS1801 provides high-performance audio volume and tone control in most applications where mechanical potentiometers are used, including CD players, guitar amplifiers, and sound boards. Digital potentiometers consume very little power while providing digital accuracy and reliability under flexible, automatic processor control.

* Two digitally controlled, 65-position potentiometers

* Ultra low-power consumption

* Logarithmic resistive characteristics (1dB per step)

* Zero-crossing detection to eliminate noise

* Three-wire communication

* Can be daisy-chained for single-processor, multidevice designs

* Operating temperature range: -40°C to +85°C

* Operating voltage range: 3V or 5V

* Resistance available: 45kΩ

Elecena nie prowadzi sprzedaży elementów elektronicznych, ani w niej nie pośredniczy.

Produkt pochodzi z oferty sklepu