elecena.pl

Addressable Dual Digital Potentiometer

Analog Devices

Addressable Dual Digital Potentiometer RSS Sample
  • Darmowa próbka
MPN:
DS1803
Producent:
ANALOG DEVICES
Dodany do bazy:
Ostatnio widziany:

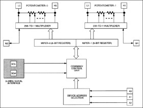
The DS1803 addressable dual digital potentiometer features two independently controlled 256-position potentiometers. Device control is achieved through a 2-wire serial interface. Three address pins allow up to 8 DS1803's to share the same 2-wire interface. The exact wiper position of each potentiometer can be written or read. The DS1803 is available in a 16-pin DIP, 16-pin SO, and 14-pin TSSOP package. The device is available in three standard resistance values: 10kΩ, 50kΩ, and 100kΩ and is specified over the industrial temperature range.

* 3V or 5V Operation

* Ultra-Low Power Consumption

* Two Digitally Controlled, 256- Potentiometers

* 14-Pin TSSOP (173 mil) and 16- mil) Packaging Available for Surface- Applications

* Addressable Using 3 Address

* 2-Wire Serial Interface

* Operating Temperature Range:

* Industrial: -40°C to +85°C

* Standard Resistance Values:\x02

* DS1803-010 10kΩ

* DS1803-050 50kΩ

* DS1803-100 100kΩ

Elecena nie prowadzi sprzedaży elementów elektronicznych, ani w niej nie pośredniczy.

Produkt pochodzi z oferty sklepu