5V EconoReset with Pushbutton
Analog Devices
RSS
Sample
- Darmowa próbka
- MPN:
- DS1813
- Producent:
- ANALOG DEVICES
- Obudowa:
- TO-92
- Dodany do bazy:
- Ostatnio widziany:
- Zmiana ceny:
- -100% (19.01.2025)
- Poprzednia cena:
- 1.52
Sugerowane produkty dla ds1811
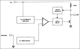
The DS1813 (5V) and DS1818 (3.3V) EconoResets are simple three-pin voltage monitors and power-on resets that hold reset for 150ms for stabilization after power returns to tolerance. The voltage monitor uses precision temperature reference and comparator circuits that detect out-of-tolerance conditions and generate an active low reset.
The DS1813 (like the DS1811) has an open-drain output with an internal 5.5kΩ pull-up resistor for use in a wired-AND circuit. The DS1813 also monitors a pushbutton on the reset output, generating a reset when the pushbutton is released.
EconoResets replace discrete components and save space, particularly in the new SOT-23 package. They can benefit any system that requires reliable processor operation, especially consumer products like printers, HVAC, energy management, cellular telephones, PDAs, and set-top boxes.
* Voltage monitor for power-fail detection
* Monitors pushbutton for external over-ride
* Active low reset output
* 150ms pause for stabilization
* Efficient open-drain output with internal 5.5kΩ pull-up resistor
* Maximum quiescent current of 40µA
* Operating ranges:
* 5V with 5%, 10% or 15% tolerance
* -40°C to +85°C
Elecena nie prowadzi sprzedaży elementów elektronicznych, ani w niej nie pośredniczy.
Produkt pochodzi z oferty sklepu Analog Devices