elecena.pl

1-Wire Parasite-Power, Ambient Temperature Sensor

Analog Devices

1-Wire Parasite-Power, Ambient Temperature Sensor RSS Sample
  • Darmowa próbka
MPN:
MAX31820PAR
Producent:
ANALOG DEVICES
Obudowa:
TO-92
Dodany do bazy:
Ostatnio widziany:
Zmiana ceny:
-100% (20.01.2025)
Poprzednia cena:
1.48

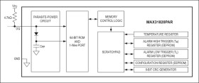
The MAX31820PAR ambient temperature sensor provides 9-bit to 12-bit Celsius temperature measurements with ±0.5°C accuracy over a +10°C to +45°C temperature range. Over its entire -55°C to +125°C operating range, the device has ±2.0°C accuracy.

The device communicates over a 1-Wire® bus that, by definition, requires only one data line (and ground) for communication with a central microprocessor. In addition, the device derives power directly from the data line (“parasite power”), eliminating the need for an external power supply. Requiring so few pins enables the device to be placed in a 3-pin TO-92 package. The form factor of this package allows the device to be placed above the board and thus measure the ambient temperature of a system, as opposed to the board temperature that a surface-mount package would measure.

Each MAX31820PAR has a unique 64-bit serial code, which allows multiple MAX31820PAR devices to function on the same 1-Wire bus. Therefore, it is simple to use one microprocessor to control many devices distributed over a large area.

Applications

* Any Thermally Sensitive System * Consumer Products * HVAC Environmental Controls * Industrial Systems * Process Monitoring and Control Systems * Temperature Monitoring Systems Inside Buildings, Equipment, or Machinery * Thermometers * Thermostatic Controls

* Unique 1-Wire Interface Requires Only One Port Pin for Communication

* Derives Power from Data Line (Parasite Power); No Local Power Supply Needed

* Multidrop Capability Simplifies Distributed Temperature-Sensing Applications

* Requires No External Components

* Measures Temperatures from -55°C to +125°C (-67°F to +257°F)

* ±0.5°C Accuracy from +10°C to +45°C

* Thermometer Resolution is User-Selectable from 9 Bits to 12 Bits

* Converts Temperature to 12-Bit Digital Word in 750ms (Max)

* User-Definable Nonvolatile (NV) Alarm Settings

* Alarm Search Command Identifies and Addresses Devices Whose Temperature is Outside Programmed Limits (Temperature Alarm Condition)

* Available in 3-Pin TO-92 Package

* Software Compatible with the DS1822-PAR and DS18B20-PAR

Elecena nie prowadzi sprzedaży elementów elektronicznych, ani w niej nie pośredniczy.

Produkt pochodzi z oferty sklepu