elecena.pl

Low-Charge Injection, 8-Channel, High-Voltage Analog Switches

Analog Devices

Low-Charge Injection, 8-Channel, High-Voltage Analog Switches RSS Sample
  • Darmowa próbka
MPN:
MAX4802
Producent:
ANALOG DEVICES
Dodany do bazy:
Ostatnio widziany:

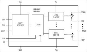
The MAX4800/MAX4801/MAX4802 provide high-voltage switching on eight channels for ultrasonic imaging and printer applications. The devices utilize BCDMOS process technology to provide eight high-voltage low-charge-injection SPST switches, controlled by a digital interface. Data is clocked into an internal 8-bit shift register and retained by a programmable latch with enable and clear inputs. A power-on reset function ensures that all switches are open on power-up.

The MAX4800/MAX4801/MAX4802 operate with a wide range of high-voltage supplies including: VPP/VNN = +100V/-100V, +185V/-15V, and +40V/-160V. The digital interface operates from a separate VDD supply from +2.7V to +13.2V. Digital inputs DIN, CLK, active-low LE, and CLR are +13.2V tolerant, independent of the VDD supply voltage. The MAX4802 provides integrated 35kΩ bleed resistors on each switch terminal to discharge capacitive loads.

The MAX4800 and MAX4802 are drop-in replacements for the Supertex HV20220 and HV232. The devices are available in the 48-pin TQFP, 26-bump CSBGA, and 28-pin PLCC packages. The MAX4801 is a drop-in replacement for the Supertex HV20320 and is available in the 28-pin PLCC package. All devices are specified for the commercial 0°C to +70°C temperature range.

Applications

* Printers * Ultrasound Imaging

* Pin-Compatible Replacement for Supertex HV20220 (MAX4800)

* Pin-Compatible Replacement for Supertex HV20320 (MAX4801)

* Pin-Compatible Replacement for Supertex HV232 (MAX4802)

* Flexible High-Voltage Supplies Up to VPP - VNN = 200V

* Low-Charge Injection, Low-Capacitance 22Ω Switches

* DC to 10MHz Analog-Signal Frequency Range

* -77dB Off Isolation at 5MHz

* Low 10µA Quiescent Current

* Integrated Bleed Resistors (MAX4802)

* Available in PLCC, TQFP, and CSBGA Packages

Elecena nie prowadzi sprzedaży elementów elektronicznych, ani w niej nie pośredniczy.

Produkt pochodzi z oferty sklepu