elecena.pl

3V/+5V, Serial-Input, Voltage-Output, 14-Bit DACs

Analog Devices

3V/+5V, Serial-Input, Voltage-Output, 14-Bit DACs RSS Sample
  • Darmowa próbka
MPN:
MAX5141
Producent:
ANALOG DEVICES
Dodany do bazy:
Ostatnio widziany:
Zmiana ceny:
-100% (19.01.2025)
Poprzednia cena:
9.03

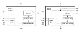
The MAX5141—MAX5144 are serial-input, voltage-output, 14-bit digital-to-analog converters (DACs) in tiny µMAX® packages, 50% smaller than comparable DACs in an 8-pin SO. They operate from low +3V (MAX5143/MAX5144) or +5V (MAX5141/MAX5142) single supplies. They provide 14-bit performance (±1 LSB INL and DNL) over temperature without any adjustments. The DAC output is unbuffered, resulting in a low supply current of 120µA and a low offset error of 2 LSBs.

The DAC output range is 0V to VREF. For bipolar operation, matched scaling resistors are provided in the MAX5142/MAX5144 for use with an external precision op amp (such as the MAX400), generating a ±VREF output swing.

A 16-bit serial word is used to load data into the DAC latch. The 25MHz, 3-wire serial interface is compatible with SPI™/QSPI™/MICROWIRE™, and can interface directly with optocouplers for applications requiring isolation. A power-on reset circuit clears the DAC output to code 0 (MAX5141/MAX5143) or code 8192 (MAX5142/MAX5144) when power is initially applied.

A logic low on active-low CLR asynchronously clears the DAC output to code 0 (MAX5141/MAX5143) or code 8192 (MAX5142/MAX5144), independent of the serial interface.

The MAX5141/MAX5143 are available in 8-pin µMAX packages and the MAX5142/MAX5144 are available in 10-pin µMAX packages.

Applications

* Automated Test Equipment (ATE) * Data Acquisition * High-Resolution and Gain Adjustment * Industrial Process Controls

* Ultra-Small (3mm x 5mm) 8-Pin µMAX Package

* Low 120µA Supply Current

* Fast 1µs Settling Time

* 25MHz SPI/QSPI/MICROWIRE-Compatible Serial Interface

* VREF Range Extends to VDD

* +5V (MAX5141/MAX5142) or +3V (MAX5143/MAX5144) Single-Supply Operation

* Full 14-Bit Performance Without Adjustments

* Unbuffered Voltage Output Directly Drives 60kΩ Loads

* Power-On Reset Circuit Clears DAC Output to Code 0 (MAX5141/MAX5143) or Code 8192 (MAX5142/MAX5144)

* Schmitt-Trigger Inputs for Direct Optocoupler Interface

* Asynchronous Active-Low CLR

Elecena nie prowadzi sprzedaży elementów elektronicznych, ani w niej nie pośredniczy.

Produkt pochodzi z oferty sklepu