elecena.pl

Low-Power, Dual, 12-Bit Voltage-Output DACs with Serial Interface

Analog Devices

Low-Power, Dual, 12-Bit Voltage-Output DACs with Serial Interface RSS Sample
  • Darmowa próbka
MPN:
MAX5155
Producent:
ANALOG DEVICES
Dodany do bazy:
Ostatnio widziany:
Zmiana ceny:
-100% (22.01.2025)
Poprzednia cena:
18.66

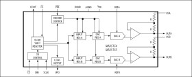
The MAX5154/MAX5155 low-power, serial, voltage-output, dual 12-bit digital-to-analog converters (DACs) consume only 500µA from a single +5V (MAX5154) or +3V (MAX5155) supply. These devices feature Rail-to-Rail output swing and are available in a space-saving 16-pin QSOP package. To maximize the dynamic range, the DAC output amplifiers are configured with an internal gain of +2V/V.

The 3-wire serial interface is SPI™/QSPI™ and Microwire™ compatible. Each DAC has a double-buffered input organized as an input register followed by a DAC register, which allows the input and DAC registers to be updated independently or simultaneously with a 16-bit serial word. Additional features include programmable shutdown (2µA), hardware-shutdown lockout (PDL), a separate reference voltage input for each DAC that accepts AC and DC signals, and an active-low clear input (CL) that resets all registers and DACs to zero. These devices provide a programmable logic pin for added functionality, and a serial-data output pin for daisy chaining.

Applications

* Digital Gain and Offset Control * General Purpose * Industrial Process Controls * Microprocessor-Controlled Systems * Motion Control * Remote Industrial Controls

* 12-Bit Dual DAC with Internal Gain of +2V/V

* Rail-to-Rail Output Swing

* 12µs Settling Time

* Single-Supply Operation:

* +5V (MAX5154)

* +3V (MAX5155)

* Low Quiescent Current:

* 500µA (normal operation)

* 2µA (shutdown mode)

* SPI/QSPI and Microwire Compatible

* Available in Space-Saving 16-Pin QSOP Package

* Power-On Reset Clears Registers and DACs to Zero

* Adjustable Output Offset

Elecena nie prowadzi sprzedaży elementów elektronicznych, ani w niej nie pośredniczy.

Produkt pochodzi z oferty sklepu