elecena.pl

Low-Power, 13-Bit Voltage-Output DACs with Serial Interface

Analog Devices

Low-Power, 13-Bit Voltage-Output DACs with Serial Interface RSS Sample
  • Darmowa próbka
MPN:
MAX535
Producent:
ANALOG DEVICES
Dodany do bazy:
Ostatnio widziany:
Zmiana ceny:
-100% (18.01.2025)
Poprzednia cena:
11.01

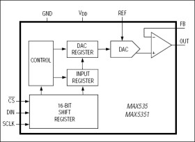
The MAX535/MAX5351 combine a low-power, voltage-output, 13-bit digital-to-analog converter (DAC) and a precision output amplifier in an 8-pin µMAX® or DIP package. The MAX535 operates from a single +5V supply and the MAX5351 operates from a single +3.3V supply. Both devices draw only 280µA of supply current.

The output amplifier's inverting input is available to the user, allowing specific gain configurations, remote sensing, and high output current capability. This makes the MAX535/MAX5351 ideal for a wide range of applications, including industrial process control. Other features include a software shutdown and power-on reset.

The serial interface is compatible with either SPI™/QSPI™ or MICROWIRE™. The DAC has a double-buffered input, organized as an input register followed by a DAC register. A 16-bit serial word loads data into the input register. The DAC register can be updated independently or simultaneously with the input register. All logic inputs are TTL/CMOS-logic compatible and buffered with Schmitt triggers to allow direct interfacing to optocouplers.

Applications

* Digital Gain and Offset Control * General Purpose * Industrial Process Controls * Motion Control * Remote Industrial Controls

* 13-Bit DAC with Configurable Output Amplifier

* +5V Single-Supply Operation (MAX535)

* +3.3V Single-Supply Operation (MAX5351)

* Low Supply Current:

* 0.24mA Normal Operation

* 2µA Shutdown Mode

* Available in 8-Pin µMAX

* Power-On Reset Clears DAC Output to 0V

* SPI/QSPI and MICROWIRE Compatible

* Schmitt-Trigger Digital Inputs for Direct Optocoupler Interface

Elecena nie prowadzi sprzedaży elementów elektronicznych, ani w niej nie pośredniczy.

Produkt pochodzi z oferty sklepu