elecena.pl

High Voltage Charge Pump, PLL Synthesizer

Analog Devices

High Voltage Charge Pump, PLL Synthesizer RSS Sample
  • Darmowa próbka
MPN:
ADF4113HV
Producent:
ANALOG DEVICES
Dodany do bazy:
Ostatnio widziany:

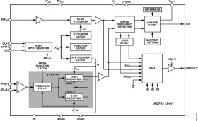
The ADF4113HV is an integer-N frequency synthesizer with a high voltage charge pump (15 V). The synthesizer is designed for use with voltage controlled oscillators (VCOs) that have high tuning voltages (up to 15 V). Active loop filters are often used to achieve high tuning voltages, but the ADF4113HV charge pump can drive a high voltage VCO directly with a passive-loop filter. The ADF4113HV can be used to implement local oscillators in the upconversion and downconversion sections of wireless receivers and transmitters. It consists of a low noise digital phase frequency detector (PFD), a precision high voltage charge pump, a programmable reference divider, programmable A and B counters, and a dual-modulus prescaler (P/P + 1).

A simple 3-wire interface controls all of the on-chip registers. The devices operate with a power supply ranging from 2.7 V to 5.5 V and can be powered down when not in use.

* High voltage charge pump (15 V)

* 2.7 V to 5.5 V power supply

* Pin compatible with ADF4110, ADF4111, ADF4112, ADF4113 ADF4106, and ADF4002 synthesizers

* 200 MHz to 4.0 GHz frequency range

* Two selectable charge pump currents

* Digital lock detect

* Power-down mode

* Loop filter design possible with ADIsimPLL™

Elecena nie prowadzi sprzedaży elementów elektronicznych, ani w niej nie pośredniczy.

Produkt pochodzi z oferty sklepu