elecena.pl

Dual 12-Bit 310Msps ADC

Analog Devices

Dual 12-Bit 310Msps ADC RSS Sample
  • Darmowa próbka
MPN:
LTC2158-12
Producent:
ANALOG DEVICES
Dodany do bazy:
Ostatnio widziany:

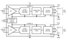
The LTC2158-12 is a 2-channel simultaneous sampling 310Msps 12-bit A/D converter designed for digitizing high frequency, wide dynamic range signals. It is perfect for demanding communications applications with AC performance that includes 67.6dB SNR and 88dB spurious free dynamic range (SFDR). The 1.25GHz input bandwidth allows the ADC to undersample high frequencies with good performance. The latency is only five clock cycles.

DC specs include ±0.6LSB INL (typ), ±0.1LSB DNL (typ) and no missing codes over temperature. The transition noise is 0.6LSBRMS.

The digital outputs are double data rate (DDR) LVDS.

The ENC+ and ENC– inputs can be driven differentially with a sine wave, PECL, LVDS, TTL, or CMOS inputs. An optional clock duty cycle stabilizer allows high performance at full speed for a wide range of clock duty cycles.

Bits

LTC2158-12

12

LTC2158-14

14

Applications

* Communications

* Cellular Basestations

* Software Defined Radios

* Medical Imaging

* High Definition Video

* Testing and Measurement Instruments

* 67.6dBFS SNR

* 88dB SFDR

* Low Power: 688mW Total

* Single 1.8V Supply

* DDR LVDS Outputs

* 1.32VP-P Input Range

* 1.25GHz Full Power Bandwidth S/H

* Optional Clock Duty Cycle Stabilizer

* Low Power Sleep and Nap Modes

* Serial SPI Port for Configuration

* Pin-Compatible 14-Bit Versions

* 64-Lead (9mm × 9mm) QFN Package

Elecena nie prowadzi sprzedaży elementów elektronicznych, ani w niej nie pośredniczy.

Produkt pochodzi z oferty sklepu