elecena.pl

10-Bit, 105Msps ADCs

Analog Devices

10-Bit, 105Msps ADCs RSS Sample
  • Darmowa próbka
MPN:
LTC2232
Producent:
ANALOG DEVICES
Dodany do bazy:
Ostatnio widziany:
Zmiana ceny:
-100% (21.01.2025)
Poprzednia cena:
11.94

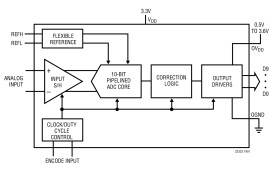
The LTC2232 and LTC2233 are 105Msps/80Msps, sampling 10-bit A/D converters designed for digitizing high frequency, wide dynamic range signals. The LTC2232/LTC2233 are perfect for demanding communications applications with AC performance that includes 61dB SNR and 75dB spurious free dynamic range for signals up to 200MHz. Ultralow jitter of 0.15psRMS allows undersampling of IF frequencies with excellent noise performance.

DC specs include ±0.15LSB INL (typ), ±0.1LSB DNL (typ) and ±0.8LSB INL, ±0.6LSB DNL over temperature. The transition noise is a low 0.12LSBRMS.

A separate output power supply allows the outputs to drive 0.5V to 3.6V logic.

The ENC+ and ENC– inputs may be driven differentially or single ended with a sine wave, PECL, LVDS, TTL, or CMOS inputs. An optional clock duty cycle stabilizer allows high performance at full speed for a wide range of clock duty cycles.

Applications

* Wireless and Wired Broadband Communication

* Cable Head-End Systems

* Power Amplifier Linearization

* Communications Test Equipment

* Sample Rate: 105Msps/80Msps

* 61dB SNR up to 140MHz Input

* 75dB SFDR up to 200MHz Input

* 775MHz Full Power Bandwidth S/H

* Single 3.3V Supply

* Low Power Dissipation: 475mW/366mW

* Selectable Input Ranges: ±0.5V or ±1V

* No Missing Codes

* Optional Clock Duty Cycle Stabilizer

* Shutdown and Nap Modes

* Data Ready Output Clock

* Pin Compatible Family

* 135Msps: LTC2224 (12-Bit), LTC2234 (10-Bit)

* 105Msps:LTC2222 (12-Bit), LTC2232 (10-Bit)

* 80Msps: LTC2223 (12-Bit), LTC2233 (10-Bit)

* 48-Pin 7mm × 7mm QFN Package

Elecena nie prowadzi sprzedaży elementów elektronicznych, ani w niej nie pośredniczy.

Produkt pochodzi z oferty sklepu