elecena.pl

Voltage supervisor & reset IC with power fail input, low-line output & manual reset

Texas Instruments

Voltage supervisor & reset IC with power fail input, low-line output & manual reset RSS Sample
  • Darmowa próbka
MPN:
LM3704
Producent:
TEXAS INSTRUMENTS
Dodany do bazy:
Ostatnio widziany:

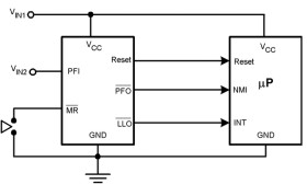
The LM3704 is a feature-rich, easy-to-use voltage supervisor. It is offered in both push-pull and open-drain configuration with a tight 2% accuracy over temperature.

The LM3704 features include a manual reset, low-line output, and power-fail input detection. The power-fail input allows for a configurable second rail to be monitored helping detect upstream failures. The low-line output is used as a second interrupt line to indicate a fall in VCC (1.02 × VRST).

Elecena nie prowadzi sprzedaży elementów elektronicznych, ani w niej nie pośredniczy.

Produkt pochodzi z oferty sklepu