elecena.pl

38-V 1.2-A single channel LED backlight driver

Texas Instruments

38-V 1.2-A single channel LED backlight driver RSS Sample
  • Darmowa próbka
MPN:
TPS92360
Producent:
TEXAS INSTRUMENTS
Dodany do bazy:
Ostatnio widziany:

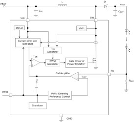
With a 40-V rated integrated switch FET, the TPS92360 is a boost converter that drives LEDs in series. The boost converter has a 40-V, 1.8-A internal MOSFET with minimum 1.2-A current limit; thus it can drive single or parallel LED strings for small- to large-size panel backlighting. The default white LED current is set with the external sensor resistor, RSET, and the feedback voltage is regulated to 204 mV, as shown in the Simplified Schematic. During the operation, the LED current can be controlled by using a pulse width modulation (PWM) signal applied to the CTRL pin, through which the duty cycle determines the feedback reference voltage. The TPS92360 does not burst the LED current; therefore, it does not generate audible noises on the output capacitor. For maximum protection, the device features integrated open LED protection that disables the TPS92360 to prevent the output voltage from exceeding the absolute maximum voltage ratings of the device during open LED conditions.

The TPS92360 is available in a space-saving 5-pin SC70 package.

Elecena nie prowadzi sprzedaży elementów elektronicznych, ani w niej nie pośredniczy.

Produkt pochodzi z oferty sklepu