elecena.pl

4-Channel, 16-Bit, Current Output DAC with On-Chip Reference and SPI

Analog Devices

4-Channel, 16-Bit, Current Output DAC with On-Chip Reference and SPI RSS Sample
  • Darmowa próbka
MPN:
AD5706R
Producent:
ANALOG DEVICES
Dodany do bazy:
Ostatnio widziany:

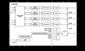
The AD5706R is a 4-channel, 16-bit resolution, low noise programmable current output, digital-to-analog converter (DAC). The device is ideal for applications such as photonics control and current-mode biasing.

The device features an integrated 2.5V voltage reference, along with load DAC, A/B toggle, and dither functions. An onboard multiplexer allows for monitoring of supply and output voltages, output currents, and the internal die temperature.

The AD5706R supports several programmable output current ranges, with a maximum of 300mA. With addressable pins, up to four devices can share a single SPI bus for communication.

Each DAC channel operates independently with its own positive power supply rail (PVDDx) that can range from 1.65V to 3.6V, optimizing both power efficiency and thermal performance. The device requires a 2.9V to 3.6V AVDD supply and is rated for operation across a wide temperature range from −40°C to +125°C.

APPLICATIONS

* Photonics control

* Optical communications

* LED driver programmable current source

* Current-mode biasing

* 4-channel, 16-bit, current output DAC

* Programmable output current ranges per channel

* 50mA, 150mA, 200mA, and 300mA

* Flexible 1.65V to 3.6V output supply voltages

* Separate voltage supply per output channel

* 0.3V maximum dropout voltage per channel

* Internal switches to ground on IOUT pins

Elecena nie prowadzi sprzedaży elementów elektronicznych, ani w niej nie pośredniczy.

Produkt pochodzi z oferty sklepu