elecena.pl

4 ADC, 2 DAC Low-Power Codec with Audio Processor

Analog Devices

4 ADC, 2 DAC Low-Power Codec with Audio Processor RSS Sample
  • Darmowa próbka
MPN:
ADAU1772
Producent:
ANALOG DEVICES
Dodany do bazy:
Ostatnio widziany:
Zmiana ceny:
-100% (19.01.2025)
Poprzednia cena:
5.82

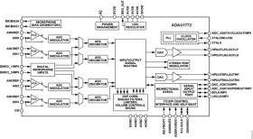
The ADAU1772 is a codec with four inputs and two outputs that incorporates a digital processing engine to perform filtering, level control, signal level monitoring, and mixing. The path from the analog input to the DSP core to the analog output is optimized for low latency and is ideal for noise cancelling headsets. With the addition of just a few passive components, a crystal, and an EEPROM for booting, the ADAU1772 provides a complete headset solution.

APPLICATIONS

* Noise cancelling headsets, headsets, and headphones

* BlueTooth ANC headsets, headsets, and headphones

* Personal navigation devices

* Digital still and video cameras

* Programmable audio processing engine 192 kHz processing path

Biquad filters, limiters, volume controls, mixing

* Low latency, 24-bit ADCs and DACs

102 dB SNR (signal through PGA and ADC with A-weighted filter)

107 dB combined SNR (signal through DAC and headphone with A-weighted filter)

* Serial port sample rates from 8 kHz to 192 kHz

* 38 μs analog-to-analog latency

Elecena nie prowadzi sprzedaży elementów elektronicznych, ani w niej nie pośredniczy.

Produkt pochodzi z oferty sklepu