elecena.pl

32-mW, stereo, analog input headphone amplifier

Texas Instruments

32-mW, stereo, analog input headphone amplifier RSS Sample
  • Darmowa próbka
MPN:
TPA6141A2
Producent:
TEXAS INSTRUMENTS
Dodany do bazy:
Ostatnio widziany:

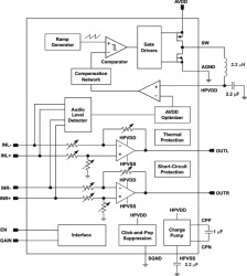
The TPA6141A2 (also known as TPA6141) is a Class-G DirectPath stereo headphone amplifier with selectable gain. Class-G technology maximizes battery life by adjusting the voltage supplies of the headphone amplifier based on the audio signal level. At low level audio signals, the internal supply voltage is reduced to minimize power dissipation. DirectPathTM technology eliminates external DC-blocking capacitors.

The device features fully differential inputs with an integrated low pass filter to reduce system noise pickup between the audio source and the headphone amplifier and to reduce DAC out-of-band noise. The high power supply noise rejection performance and differential architecture provides increased RF noise immunity. For single-ended input signals, connect INL+ and INR+ to ground.

The device operates from a 2.5 V to 5.5 V supply voltage. Class-G operation keeps total supply current below 5.0 mA while delivering 500 µW per channel into 32 . Shutdown mode reduces the supply current to less than 3 µA and is activated through the EN pin.

The device has built-in pop suppression circuitry to completely eliminate disturbing pop noise during turn-on and turn-off. The amplifier outputs have short-circuit and thermal-overload protection along with ±8 kV HBM ESD protection, simplifying end equipment compliance to the IEC 61000-4-2 ESD standard.

Elecena nie prowadzi sprzedaży elementów elektronicznych, ani w niej nie pośredniczy.

Produkt pochodzi z oferty sklepu