elecena.pl

2.75-W, mono, analog input Class-D audio amplifier with fixed 2 V/V gain

Texas Instruments

2.75-W, mono, analog input Class-D audio amplifier with fixed 2 V/V gain RSS Sample
  • Darmowa próbka
MPN:
TPA2032D1
Producent:
TEXAS INSTRUMENTS
Dodany do bazy:
Ostatnio widziany:

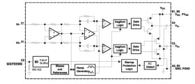
The TPA2032D1 (2V/V gain), TPA2033D1 (3V/V gain), and TPA2034D1 (4V/V gain) are 2.75–W high efficiency filter–free class–D audio power amplifiers, each in an approximately 1.5–mm × 1.5–mm wafer chip scale package (WCSP) that requires only one external component. The pinout is the same as the TPA2010D1 except that the external gain setting input resistors required by the TPA2010D1 are integrated into the fixed gain TPA203xD1 family.

Features like –75dB PSRR and improved RF–rectification immunity with a very small PCB footprint (WCSP amplifier plus single decoupling cap) make the TPA203xD1 family ideal for wireless handsets. A fast start–up time of 3.2 ms with minimal pop makes the TPA203xD1 family ideal for PDA applications.

In wireless handsets, the earpiece, speaker phone, and melody ringer can each be driven by a TPA203xD1. The TPA203xD1 family has a low 27–µV noise floor, A–weighted.

Elecena nie prowadzi sprzedaży elementów elektronicznych, ani w niej nie pośredniczy.

Produkt pochodzi z oferty sklepu