elecena.pl

105dB SNR 8-Channel Audio DAC with TDM Mode

Texas Instruments

105dB SNR 8-Channel Audio DAC with TDM Mode RSS Sample
  • Darmowa próbka
MPN:
PCM1681
Producent:
TEXAS INSTRUMENTS
Dodany do bazy:
Ostatnio widziany:

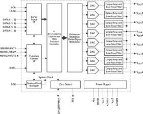
The PCM1681 and PCM1681-Q1 are CMOS monolithic integrated circuits which feature an eight-channel 24-bit audio digital-to-analog converter (DAC) and support circuitry in small 28-lead TSSOP PowerPAD packages. The DACs utilize Burr-Brown's enhanced multilevel delta-sigma (ΔΣ) architecture to achieve excellent signal-to-noise performance and a high tolerance to clock jitter.

The PCM1681 and PCM1681-Q1 accept TDM (time-division multiplexed) format in addition to industry-standard audio data formats with 16- to 24-bit audio data width. Sampling rates up to 200 kHz are supported. The PCM1681 and PCM1681-Q1 provide a sub-set of user-programmable functions through a parallel control port, in addition to a full set of user-programmable functions through a serial control port, SPI, or I2C. The PCM1681 supports –40°C to +85°C for consumer grade applications and the PCM1681-Q1 supports –40°C to +105°C for automotive audio grade systems.

Elecena nie prowadzi sprzedaży elementów elektronicznych, ani w niej nie pośredniczy.

Produkt pochodzi z oferty sklepu